Направляющие кабины и противовеса лифта - часть 4
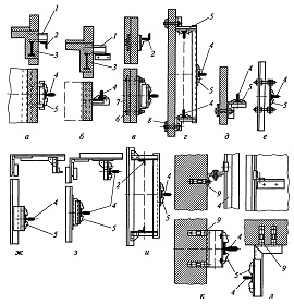
На рис. 2.88 представлены некоторые способы
крепления направляющих кабины и противовеса. До бетонных работ закладные
элементы 1 (швеллеры или уголки) приваривают к каркасу 3 здания (рис.
2.88, а и б), а уголок 2— к закладному элементу. Тщательно проверяя
положение закладных элементов и отклонение направляющих 4 от заданного
положения, направляющие крепят к уголкам с помощью прижимов 5.
На рис. 2.88, в—д показано крепление направляющих к стенам шахты,
имеющим достаточную прочность, болтами с шайбами. Схемы крепления
направляющих к металлокаркасным шахтам приведены на рис. 2.88, е—и. На
рис. 2.88, /сил показано крепление направляющих в кирпичных шахтах с
помощью дюбелей 9, установленных в их стенах.
Расчетная величина прогиба должна быть не более:
0,005 м по обеим осям для направляющих кабины, противовеса или
уравновешивающего устройства кабины, оборудованных ловителями;
0.01.м по обеим осям для направляющих противовеса или уравновешивающего
устройства кабины, не оборудованных ловителями.
Поверхности направляющих должны быть тщательно обработаны. Для кабин
современных лифтов, кроме грузовых малых, применяют стальные
направляющие таврового профиля марок НТ-1, НТ-2, НТ-3 и НТ-ЗА (рис.
2.89). Их размеры приводятся в табл. 2.4. Высота направляющих должна
быть такой, чтобы при возможных перемещениях кабины (противовеса) за
пределы крайних рабочих положений башмаки не сходили с направляющих.
Таблица 2.4
Марка
направляющей
Размеры, мм
Для лифтов грузоподъемностью, кг
В
Н
b
h
НТ-1
130
110
25
60
3200 и 5000
НТ-2
120
90
16
50
1000 и 2000
НТ-3
90
60
16
35
320 и 500
НТ-ЗА
70
65
14
30
320, 400 и 630

Рис. 2.88. Схемы крепления направляющих кабины и
противовеса к элементам шахты:
а, б — приваривание к каркасу здания; в — д — крепление болтами к
стенкам; е—и — крепление к металлическим элементам шахты; к, л —
крепление дюбелями; 1 — закладной элемент; 2 — уголок; 3 — каркас; 4 —
направляющая; 5 — прижим; 6 — болт; 7 — плита; 8 — шайба; 9 — дюбель

Рис. 2.89. Направляющая современных лифтов
Контрольные вопросы
1. Для чего предназначены направляющие?
2. На какие нагрузки должны быть рассчитаны направляющие кабины и
противовеса?
3. Из какого профиля и материала изготавливают направляющие?
4. Как различаются направляющие по способу крепления к шахте?
5. Какие требования предъявляют к стыкам направляющих?
6. Какими способами крепят направляющие к кронштейнам? Опишите
достоинства и недостатки этих способов.
7. Какие требования предъявляют к точности
установки направляющих в шахте и поверхностям направляющих?
8. Какие требования предъявляют к высоте направляющих?
Содержание
- 1. ВВЕДЕНИЕ (лифты)
- 2. 1.1. Определение лифта
- 3. Устройство и состав типового лифта
- 4. Машинное и блочное помещения оборудованиятиповых лифтов
- 5. Шахта лифта (устройство) - часть 1
- 6. Шахта лифта (устройство) - часть 2
- 7. Шахта лифта (устройство) - часть 3
- 8. Шахта лифта (устройство) - часть 4
- 9. Классификация лифтов
- 10. 1.4.
- 11. Контрольные вопросы
- 12. Контрольные вопросы
- 13. Контрольные вопросы
- 14. 2.1. Лифтовые лебедки - часть 1
- 15. 2.1. Лифтовые лебедки - часть 2
- 16. Лифтовая лебедка с червячным редуктором иканатоведущим шкивом.
- 17. Редукторы лифтовых лебёдок - часть 1
- 18. Редукторы лифтовых лебёдок - часть 2
- 19. Контрольные вопросы
- 20. Канатоведущие органы, блоки и контршкивылифтовых лебёдок
- 21. Барабаны лифтовых лебёдок
- 22. Канатоведущие шкивы лифтовых лебёдок
- 23. Блоки и контршкивы лифтовых лебёдок
- 24. Муфты лифтовых лебёдок
- 25. Тормозные устройства лифтовых лебёдок - часть 1
- 26. Тормозные устройства лифтовых лебёдок - часть 2
- 27. Колодочный тормоз с короткоходовымэлектромагнитом постоянного тока типа МП-201
- 28. Контрольные вопросы
- 29. Кабины лифтов
- 30. Каркас кабины лифта
- 31. Пол и устройства контроля загрузки кабины лифта- часть 1
- 32. ф
- 33. Уравновешивающие элементы кабины лифта
- 34. Гибкие уравновешивающие элементы кабины лифта
- 35. Направляющие башмаки кабины лифта
- 36. Смазывающие аппараты башмаков кабины лифта
- 37. Контрольные вопросы
- 38. Подвески кабин и противовесов лифта
- 39. Пружинные подвески лифта
- 40. Жесткая подвеска лифта
- 41. Полиспастная подвеска лифта
- 42. Ловители лифта
- 43. Лифтовые ловители резкого торможения
- 44. Лифтовые ловители плавного торможения
- 45. Механизм включения ловителей лифта - часть 1
- 46. Механизм включения ловителей лифта - часть 2
- 47. Ограничитель скорости лифта
- 48. Лифтовой ограничитель скорости центробежноготипа с горизонтальной осью вращения
- 49. Лифтовой ограничитель скорости с инерционнымроликом
- 50. Двери шахты и кабины лифта
- 51. Двери шахты и дверные замки лифта
- 52. Распашные двери шахты лифта - часть 1
- 53. Распашные двери шахты лифта - часть 2
- 54. Горизонтально-раздвижные двери шахты лифта -часть 1
- 55. Горизонтально-раздвижные двери шахты лифта -часть 2
- 56. Распашные двери кабины лифта
- 57. Горизонтально-раздвижные двери кабины лифта -часть 1
- 58. Горизонтально-раздвижные двери кабины лифта -часть 2
- 59. Лифтовые канаты - часть 1
- 60. Первоначальный коэффициент запаса прочности при отношении D/d
- 61. Направляющие кабины и противовеса лифта -часть 1
- 62. Направляющие кабины и противовеса лифта - часть2
- 63. Направляющие кабины и противовеса лифта - часть3
- 64. Марка
- 65. Упоры и буфера лифта
- 66. Пружинные буфера лифта
- 67. Гидравлические буфера лифта - часть 1
- 68. Гидравлические буфера лифта - часть 2
- 69. 3.1. Общие сведения
- 70. Требования к электроприводу,электропроводке и освещению лифтов с РЕЛЕЙНО-КОНТАКТОРНЫМИ НКУ
- 71. Виды и системы управления лифтов сРЕЛЕЙНО-КОНТАКТОРНЫМИ НКУ
- 72. Наименование и назначениеэлектрооборудования и электроаппаратов лифтов с РЕЛЕЙНО-КОНТАКТОРНЫМИ НКУ
- 73. Классификация электрических схем лифтов сРЕЛЕЙНО-КОНТАКТОРНЫМИ НКУ
- 74. Условные обозначения элементовэлектрических схем лифтов с релейно-контакторными НКУ
- 75. Структура принципиальных электрических схемлифтов с релейно-контакторными НКУ
- 76. Узел определения местонахождения кабины и выборанаправления движения лифтов с релейно-контакторными НКУ
- 77. Узел тормозного устройства лифтов срелейно-контакторными НКУ
- 78. Узлы питания лифтов с релейно-контакторными НКУ
- 79. Применение R— С-цепочек в электрических схемахлифтов
- 80. Устройство и принцип действия лифтовыхприборов типа «Логика И-300»
- 81. Правила чтения принципиальных электрическихсхем лифтов с релейно-контакторными НКУ
- 82. ->
- 83. Краткая характеристика системы управления лифтом
- 84. Краткая характеристика системы управления лифтом
- 85. Контакт
- 86. 3.13.2. Программы работы лифтов общегоназначения грузоподъемностью 500, 1000, 2000 и 3200 кг с номинальнойскоростью движения кабины 0,5 м/с и грузоподъемностью 5000 кг сноминальной скоростью движения кабины 0,25 м/с
- 87. Режим «Нормальная работа»
- 88. Контакт
- 89. Программа работа лифта в режиме «Нормальная работа»
- 90. Режим «Нормальная работа»
- 91. Соединение
- 92. 3.15.2. Программы работы пассажирского лифта дляжилых зданий грузоподъемностью 320 (500) кг с номинальной скоростьюдвижения кабины 1,0 м/с, светящимися кнопками и одиночным управлением
- 93. Режим «Нормальная работа»
- 94. 3.16. Групповая работа пассажирских лифтов -часть 1
- 95. Соединение
- 96. Групповая работа пассажирских лифтов - часть 3
- 97. Режим «Нормальная работа»
- 98. Погрузочный режим лифта Б
- 99. Диспетчерский контроль за работой лифтов
- 100. 4.1. Особенности новых систем управления лифтами
- 101. Основные технические характеристики
- 102. Программа работы лифта в режиме «Нормальнаяработа»
- 103. Лифты с НКУ типов УЛЖ-10 и УЛЖ-17 - часть 1
- 104. Структурная схема электрической часта
- 105. 4.5. Лифтовый блок управления релейный для НКУтипов УЛЖ-10 и УЛЖ-17 - часть 1
- 106. Реле
- 107. Принцип действия цепи тормозного электромагнитаYA1
- 108. Лифтовый блок управления логический
- 109. 4.7. Световые индикаторы лифта
- 110. Контрольные вопросы
- 111. Устройства защиты и контроля лифта (УЛЖ-10)
- 112. Режим «Нормальная работа»
- 113. 5.1.
- 114. Техническое диагностирование и обследованиелифтов
- 115. Виды ремонтов лифтов
- 116. Регистрация и ввод лифта в эксплуатацию
- 117. Порядок расследования аварий и несчастныхслучаев с лифтами
- 118. 6.1. Основные положения охраны труда при производстве работ на лифтах
- 119. Требования охраны труда при оперативномобслуживании и ремонте электроустановок напряжением до 1000 В на лифтах
- 120. 6.3. Порядок и условия производства работ вдействующих электроустановках на лифтах
- 121. Организация работ на лифтах, выполняемых впорядке текущей эксплуатации согласно перечню
- 122. Отключения электроустановок на лифтах
- 123. Вывешивание запрещающих плакатов на лифтах
- 124. Проверка отсутствия напряжения на лифтах
- 125. Требования к лифтовым переноснымэлектроинструментам, светильникам, ручным электрическим машинам иразделительным трансформаторам
- 126. Защитные средства при работе на лифтах
- 127. СПИСОК ЛИТЕРАТУРЫ (лифты)

от 1030.00 руб./шт.

от 224.00 руб./шт.

от 195.00 руб./шт.

от 195.00 руб./шт.

от 402.00 руб./шт.

от 402.00 руб./шт.

от 288.00 руб./шт.

от 288.00 руб./шт.

от 288.00 руб./шт.

от 56.00 руб./шт.

от 224.00 руб./шт.

от 138.00 руб./шт.





