Монтаж кабины лифта - часть 2
На некоторых последних моделях лифтов роль нижней балки каркаса выполняет
рама пола. При этом используется верхнее расположение ловителей. В таком
случае сборку кабины рекомендуется проводить в следующем порядке: с рамы
пола снять один башмак, застропить ее на монтажной лебедке и установить
на упорные балки в шахте, заведя оставшийся не снятым башмак на
направляющую; завести на противоположную направляющую снятый башмак и
закрепить его на раме пола; установить стояки крепления купе, прикрепив
их к раме пола; надеть на стояки резиновые прокладки; на раме пола
установить в нижнее положение опорные болты крепления щитов купе; на
опорные болты установить задний и боковые щиты купе; установить передние
щиты и прикрепить их раскладками к стоякам (рис. 13.31); установить
обрамление дверей; монтажной лебедкой поставить потолок на щиты купе и
временно прикрепить его к стоякам купе; с верхней балки снять башмак с
одной стороны, монтажной лебедкой через дверной проем подать балку в
шахту и завести оставшийся башмак на направляющую; установить снятый
башмак с противоположной стороны; балка остается подвешенной на крюке
монтажной лебедки; подать в шахту стояки каркаса кабины и закрепить их к
верхней балке; опустить с помощью лебедки верхнюю балку до совмещения
отверстий стояков каркаса с отверстиями в раме пола и соединить их
болтами; прижать клинья ловителей к направляющим, подтянув рычаг их
привода до упора вверх и подвязав его проволокой к кронштейну;
расстропить верхнюю балку; с помощью опорных болтов рамы пола поднять
купе до совмещения отверстий в потолке с отверстиями на стояках каркаса
и закрепить потолок болтами к каркасу и стоякам купе.

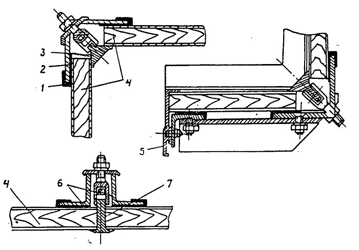
Рис. 13.31. Крепление панелей купе 1 - резиновая обкладка; 2 - угловой стояк купе; 3 - угловая раскладка в сборе; 4 - панели; 5 - обрамление дверного проема; 6 - срединные стояки купе; 7 - срединная раскладка в сборе
При наличии в каркасе кабины нижней балки, сборка
кабины начинается со сборки каркаса, для чего: нижнюю балку каркаса
кабины, с предварительно снятым с одной стороны башмаком, монтажной
лебедкой заводят через дверной проем и устанавливают на упоры, заведя
башмак с одной стороны на направляющую; прикрепить на нижнюю балку
второй башмак, заведя его на направляющую; проверить по уровню
горизонтальность установки нижней балки (допускаемое отклонение
составляет 1 мм на 1 м длины); установить стояки каркаса и закрепить их
на нижней балке; на нижнюю балку установить раму пола и прикрепить ее к
стоякам каркаса; снимая и, впоследствии, устанавливая один из башмаков,
завести монтажной лебедкой в шахту верхнюю балку каркаса, надеть ее
башмаками на направляющие и закрепить на стойках каркаса; установить
вертикальные тяги механизма привода ловителей (при их нижнем
расположении).
При сборке каркаса необходимо выполнить следующие
требования: разность диагоналей внутри каркаса может быть не более 5 мм;
стойки должны быть перпендикулярны к раме пола (допустимое отклонение от
перпендикулярности 2 мм на высоту стойки); все болтовые соединения
должны быть затянуты до отказа с установкой пружинных шайб.
Сборка купе кабины при наличии в каркасе нижней балки аналогична
описанной ранее, за исключением того, что потолок заводится под верхнюю
балку и временно крепится к ней раньше, чем устанавливаются щиты купе.
Если купе кабины имеет большие размеры и одного щита по ширине стенки
недостаточно, щиты собираются встык на дополнительных стояках с помощью
специальных раскладок (рис. 13.31). Аналогично собираются горизонтальные
стыки щитов (например, на передней стенке между боковыми и верхними
щитами).
В последнее время заводы при изготовлении и модернизации лифтов
поставляют кабины, купе которых собирается из металлических щитов. По
конструкции щиты аналогичны щитам купе грузовых лифтов. Они
изготавливаются из листовой стали, покрытой эпоксидной эмалью и
соединяются между собой болтами. В труднодоступных местах для прижима
бортов щитов используются пружинные зажимы, устанавливаемые в овальные
отверстия. Технология сборки купе кабин из таких щитов аналогична сборке
купе грузовых лифтов (см. ниже).
При сборке каркаса кабины необходимо выполнить регулировку башмаков и
клиньев ловителей, как по их взаимному положению, так и по отношению к
направляющим. На лифтах со скоростью до 1,4 м/с используются, в
основном, скользящие башмаки с капроновыми вкладышами. Корпус башмаков
имеет в основании четыре продолговатых отверстия под крепежные болты,
что позволяет регулировать их положение по штихмассу. Соосность верхнего
и нижнего башмака обеспечивается вертикальностью положения стояков
каркаса. Проверка соосности производится по отвесу.
При регулировке положения башмаков скольжения необходимо обеспечить
выполнение следующих требований: допускаемое смещение башмаков по
вертикали лежит в пределах ±1 мм; поверхности башмаков, прилегающие к
боковым и торцевым поверхностям направляющих, должны быть параллельны
между собой и перпендикулярны к полу кабины, допускаемый перекос башмака
по высоте составляет 0,5 мм; суммарный боковой зазор, а также суммарный
зазор по штихмассу между вкладышем и направляющей не должен превышать 4
мм (по 2 мм на сторону). В начале эксплуатации лифта в башмаки
скольжения устанавливают чугунные вкладыши, которые заменяются на
капроновые после приработки башмаков и направляющих друг к другу.
В скоростных лифтах, для уменьшения трения, обычно устанавливаются
роликовые башмаки. Все три ролика должны прилегать к рабочим
поверхностям направляющих по всей ширине обода, без зазора. Нагрузка
ролика на направляющую может быть не более 100 Н. Она проверяется
динамометром и регулируется гайкой, затягивающей пружину на подвижном
рычаге. В тоже время ход ролика в противоположном направлении не должен
превышать 2 мм. Величина хода регулируется упорным винтом, который
ограничивает поворот рычага.
Положение клиньев ловителей по отношению к направляющим и башмакам
должно быть таким, чтобы их рабочие поверхности (или клина и колодки)
были параллельны пазам башмаков и соосны с ними. Допуск на
непараллельность - не более 0,1 мм на длину клина, допуск на несоосность
клиньев и башмаков - не более 0,5 мм.
Проверка положения клиньев по отношению к башмакам
и направляющим выполняется одновременно с проверкой работоспособности
механизма привода ловителей и регулировкой зазоров между клиньями
ловителей и направляющими.
Содержание
- 1. Лифты (Волков Д. П.) - онлайн
- 2. Предисловие (лифты)
- 3. История развития лифтостроения
- 4. Современное состояние, тенденции и перспективы развития лифтостроения
- 5. Общие положения и определения классификации лифтов
- 6. Классификация лифтов
- 7. Кинематические схемы лифтов
- 8. Техническая характеристика лифтов
- 9. Общие требования к конструкции и параметрам лифтов
- 10. Устройство, компоновка и взаимодействие узлов лифта
- 11. ОСНОВЫ ПРОЕКТИРОВАНИЯ ВЕРТИКАЛЬНОГО ТРАНСПОРТА (ЛИФТОВ) ЗДАНИЙ ИСООРУЖЕНИЙ
- 12. Расчет производительности и необходимого числа лифтов
- 13. Размещение лифтов в зданиях и сооружениях
- 14. МЕХАНИЗМЫ ПОДЪЕМА ЛИФТОВ
- 15. Сравнительная характеристика лифтовых лебедок различного конструктивногоисполнения
- 16. Сравнительная характеристика лифтовых лебедок различного конструктивногоисполнения
- 17. Сравнительная характеристика лифтовых лебедок различного конструктивногоисполнения
- 18. Канаты и цепи лифтов
- 19. Барабаны, канатоведущие шкивы, блоки и контршкивы лифтов
- 20. Теория работы фрикционной передачи тягового усилия в лифтовых лебедках сКВШ
- 21. Редукторы лифтовых лебедок
- 22. Тормоза лифта
- 23. Тормоза лифта
- 24. Определение массы и уравновешивание подвижных частей МЕХАНИЗМА ПОДЪЕМАлифта
- 25. Расчет механизма подъема лифта
- 26. КАБИНЫ ЛИФТА
- 27. Каркас кабины лифта
- 28. Конструкция пола и устройств контроля загрузки кабины лифта
- 29. Конструкция пола и устройств контроля загрузки кабины лифта
- 30. Канатные подвески лифтов
- 31. Канатные подвески лифтов
- 32. Направляющие башмаки лифтов
- 33. ПРОТИВОВЕСЫ ЛИФТА
- 34. Динамика нагрузки металлоконструкций каркаса в режимах подскока изатягивания противовеса лифта
- 35. ДВЕРИ КАБИНЫ И ШАХТЫ ЛИФТА
- 36. Конструкция и работа механизма привода автоматических дверей лифта
- 37. Раздвижные двери кабины лифта
- 38. Конструкция и работа механизма привода автоматических дверей лифта
- 39. Кинематика и расчет механизма привода автоматических раздвижных дверейлифта
- 40. Кинематика и расчет механизма привода автоматических раздвижных дверейлифта
- 41. Кривошипно-шатунный (рычажный) механизм привода автоматических дверейлифта
- 42. Кинематика и расчет механизма привода автоматических раздвижных дверейлифта
- 43. ЛИФТОВЫЕ НАПРАВЛЯЮЩИЕ
- 44. Конструкция и установка направляющих в шахте лифта
- 45. ЛИФТОВЫЕ ЛОВИТЕЛИ
- 46. Классификация лифтовых ловителей
- 47. Лифтовые улавливающие устройства их основные характеристики
- 48. Механизм привода лифтовых ловителей
- 49. Механизм привода лифтовых ловителей
- 50. Конструкция, устройство и принцип действия лифтовых ловителей
- 51. Конструкция, устройство и принцип действия лифтовых ловителей
- 52. Расчет лифтовых ловителей
- 53. ЛИФТОВЫЕ ОГРАНИЧИТЕЛЬ СКОРОСТИ
- 54. Классификация лифтовых ограничителей скорости
- 55. Конструкция и расчет лифтового ограничителя скорости центробежного типа СГОРИЗОНТАЛЬНОЙ ОСЬЮ ВРАЩЕНИЯ
- 56. Конструкция и расчет ограничителя скорости с вертикальной осью вращения
- 57. ЛИФТОВЫЕ УПОРЫ И БУФЕРЫ
- 58. Конструкция и расчет лифтового пружинного буфера
- 59. Конструкция и расчет лифтового гидравлического буфера
- 60. ШАХТЫ, МАШИННЫЕ И БЛОЧНЫЕ ПОМЕЩЕНИЯ
- 61. Лифтовые машинные и блочные помещения
- 62. ЭЛЕКТРОПРИВОД И АВТОМАТИКА ЛИФТОВ
- 63. Оптимальная диаграмма движения кабины лифта
- 64. Силы и моменты нагрузки электроприводов лифтов
- 65. Динамические режимы электроприводов лифтов
- 66. Нерегулируемый лифтовый привод с односкоростным и двухскоростнымДВИГАТЕЛЕМ ПЕРЕМЕННОГО ТОКА
- 67. Регулируемый лифтовый привод переменного трехфазного тока
- 68. Регулируемый лифтовый привод переменного трехфазного тока
- 69. Регулируемый лифтовый привод постоянного тока
- 70. Общая характеристика систем управления лифтов
- 71. Лифтовые системы управления с контактной логикой
- 72. Лифтовые системы управления с бесконтактной логикой
- 73. Системы управления лифтами на базе микропроцессорной техники
- 74. МОНТАЖ ЛИФТОВ
- 75. Подготовка и организация монтажных лифтовых работ
- 76. Приемка и подготовка строительной части к монтажу лифта
- 77. Последовательность выполнения операций при монтаже лифта
- 78. Доставка лифтового оборудования к месту монтажа
- 79. Особенности монтажа оборудования при замене и модернизации лифтов
- 80. Определение координат установки оборудования лифта в шахте
- 81. Грузоподъемное и такелажное оборудование для монтажа лифтов
- 82. Механизированный инструмент, применяемый на монтаже лифтов
- 83. МОНТАЖ ЛИФТОВОЙ ШАХТЫ
- 84. Монтаж шахты лифта с металлическим каркасом
- 85. Монтаж лифтовой шахты из тюбингов
- 86. Способы крепления узлов и деталей оборудования лифта к строительнымконструкциям шахты и машинного помещения
- 87. Установка кронштейнов крепления направляющих кабины и противовеса лифта
- 88. Монтаж направляющих кабины и противовеса лифта
- 89. Монтаж направляющих кабины и противовеса лифта
- 90. Монтаж направляющих кабины и противовеса лифта
- 91. Монтаж направляющих кабины и противовеса лифта
- 92. Монтаж дверей шахты лифта
- 93. Монтаж дверей шахты лифта
- 94. Монтаж дверей шахты лифта
- 95. Монтаж дверей шахты лифта
- 96. Монтаж обрамлений дверных проемов лифтов
- 97. Монтаж оборудования приямка лифта
- 98. Монтаж противовеса лифта
- 99. Монтаж кабины лифта
- 100. Монтаж кабины лифта
- 101. Монтаж кабины лифта
- 102. Монтаж кабины лифта
- 103. Монтаж кабины лифта
- 104. Монтаж лифтовых лебедок и отводных блоков
- 105. Монтаж лифтовых лебедок и отводных блоков
- 106. Монтаж ограничителя скорости лифта
- 107. Навеска тяговых канатов лифта
- 108. Монтаж компенсирующих канатов и уравновешивающих цепей лифта
- 109. Монтаж электроаппаратуры лифта
- 110. Монтаж электроаппаратуры лифта
- 111. Монтаж электропроводки и кабелей лифтов
- 112. Монтаж электропроводки и кабелей лифтов
- 113. Монтаж электропроводки и кабелей лифтов
- 114. Монтаж электропроводки и кабелей лифтов
- 115. Монтаж электропроводки и кабелей лифтов
- 116. Устройство заземления (зануления) лифтовой установки
- 117. Замер сопротивления изоляции электрических цепей лифта
- 118. Наладка и сдача лифта в эксплуатацию
- 119. Опробование лифта
- 120. Опробование лифта
- 121. Регулировка оборудования лифта
- 122. Наладка лифтов. Наладочные работы
- 123. Обкатка и сдача лифта в эксплуатацию
- 124. Техника безопасности при монтаже лифтов
- 125. ЭКСПЛУАТАЦИЯ, ТЕХНИЧЕСКОЕ ОБСЛУЖИВАНИЕ И РЕМОНТ ЛИФТОВ
- 126. Текущий и технический надзор за работой лифтов
- 127. Работоспособность лифтов
- 128. Структура службы эксплуатации лифтов
- 129. Структура службы эксплуатации лифтов
- 130. Структура службы эксплуатации лифтов
- 131. Приемка лифтового оборудования в эксплуатацию
- 132. Статические и динамические испытания лифтов
- 133. Порядок и содержание работы по проверке уровня технического состояниялифта
- 134. Порядок и содержание работы по проверке уровня технического состояниялифта
- 135. Порядок и содержание работы по проверке уровня технического состояниялифта
- 136. Порядок и содержание работы по проверке уровня технического состояниялифта
- 137. Система мониторинга технического состояния лифтов на основедиспетчеризации
- 138. Периодичность и содержание технического обслуживания иремонтно-профилактических работ
- 139. Периодичность и содержание технического обслуживания иремонтно-профилактических работ
- 140. Периодичность и содержание технического обслуживания иремонтно-профилактических работ
- 141. Полугодовой текущий ремонт ТР-6 пассажирских и грузопассажирских лифтов савтоматическим приводом дверей
- 142. Аварийный ремонт лифтов
- 143. Капитальный ремонт лифтов
- 144. Модернизация лифтов
- 145. Смазочные материалы и смазка деталей и узлов лифта
- 146. Смазочные материалы и смазка деталей и узлов лифта
- 147. Смазочные материалы и смазка деталей и узлов лифта
- 148. Смазочные материалы и смазка деталей и узлов лифта
- 149. Инструментальные испытания лифтового оборудования
- 150. Методологическая основа инструментальных испытаний лифтов
- 151. Электрические первичные преобразователи лифтов
- 152. Пьезоэлектрические преобразователи лифтов
- 153. Резисторные преобразователи лифта
- 154. Монтаж тензорезисторов лифта
- 155. Импульсные преобразователи лифта
- 156. Лифтовые измерительные цепи
- 157. Лифтовая мостовая измерительная цепь
- 158. Лифтовые измерительные цепи
- 159. Лифтовые регистрирующие устройства
- 160. Лифтовые самопишущие приборы
- 161. Лифтовые светолучевые осциллографы
- 162. Магнитографы лифтовые
- 163. Функциональные (заводские) испытания лифтов
- 164. Испытания узлов лифта
- 165. Сертификационные испытания лифта
- 166. Диагностирование лифтов
- 167. Прогнозирование остаточного ресурса лифтов
- 168. КАЧЕСТВО И СЕРТИФИКАЦИЯ ЛИФТОВ
- 169. Показатели качества лифтов
- 170. Надежность лифтов
- 171. Динамика, вибрации и шум лифтов
- 172. Оценка основных частот колебаний лифтов
- 173. Вынужденные колебания лифтов
- 174. Оценка долговечности и сроков службы лифтов
- 175. Оценка долговечности элементов лифта по износу
- 176. Оценка долговечности деталей лифта по износу
- 177. Системы качества и сертификации лифтов
- 178. Сертификация лифтов
- 179. ЛИТЕРАТУРА (лифты)
- 180. МОСКОВСКОЕ ГОСУДАРСТВЕННОЕ УНИТАРНОЕ ПРЕДПРИЯТИЕ МОСЛИФ
- 181. АКЦИОНЕРНАЯ КОМПАНИЯ ЗАКРЫТОГО ТИПА РУСЬЛИФТ
- 182. Открытое акционерное общество Карачаровский механический завод
- 183. ОТКРЫТОЕ АКЦИОНЕРНОЕ ОБЩЕСТВО ЩЕРБИНСКИЙ ЛИФТОСТРОИТЕЛЬНЫЙ ЗАВОД
- 184. АКЦИОНЕРНАЯ КОМПАНИЯ МОСЛИФТМОНТАЖ
- 185. РОССИЙСКАЯ ФЕДЕРАЦИЯ ООО ПРЕДПРИЯТИЕ ИНЖЕНЕРНЫЙ ЦЕНТР КОЛИС
- 186. ИНЖЕНЕРНЫЙ ЦЕНТР ПО НЕЗАВИСИМОЙ ТЕХНИЧЕСКОЙ ЭКСПЕРТИЗЕ ЭСКАЛАТОРОВ ИЛИФТОВ
- 187. Предприятие ПОДЪЕМ Р О D Y О М
- 188. НАУЧНО-ПРОИЗВОДСТВЕННАЯ ФИРМА ЛИФТМОНТАЖ
- 189. Народная фирма Электропровод
- 190. ИКЦ ИНЖТЕХЛИФТ
- 191. СОДЕРЖАНИЕ Лифты (Волков Д. П.)

от 910.00 руб./шт.

от 0.00 руб./шт.

от 0.00 руб./шт.

от 1500.00 руб./шт.

от 109.00 руб./шт.

от 167.00 руб./шт.

от 46.00 руб./шт.

от 109.00 руб./шт.

от 1426.00 руб./шт.

от 0.00 руб./шт.

от 334.00 руб./шт.

от 265.00 руб./шт.





