Глава 11
ЛИФТОВЫЕ ЭТАЖНЫЕ ПЕРЕКЛЮЧАТЕЛИ, ИНДУКТИВНЫЕ И КОНТАКТНЫЕ ДАТЧИКИ СЕЛЕКЦИИ И ДАТЧИКИ ТОЧНОЙ ОСТАНОВКИ
На односкоростных лифтах этажные переключатели предназначены для
производства коммутационных операции в электрических цепях контакторов
направления, питающих приводной электродвигатель
Посредством этих коммутационных операций
осуществляются: остановка движущейся вверх или вниз кабины на нужном
этаже, приказ или вызов которого были зарегистрированы; поочередная
подготовка электрических цепей питания обоих контакторов при движении
кабины в одном и другом направлениях.
На двухскоростных лифтах этажные переключатели предназначены для
производства коммутационных операций в электрической цепи контактора
большой скорости и в цепях электроаппаратов, подающих питание на
электродвигатель механизма открывания дверей кабины и шахты.
Посредством этих коммутационных операций осуществляются: размыкание
электрической цепи питания катушки контактора большой скорости перед
подходом к этажу, приказ или вызов которого были зарегистрированы,
подготовка цепи питания электроаппарата, замыкающего контакты в цепи
статорной обмотки электродвигателя механизма открывания дверей кабины и
шахты.
На рис. 102 показано устройство этажного переключателя ПЭ-1. В корпусе 7
винтами 9 укреплены два блокировочных контакта 8 и 10 типа ЛКБ-31,
имеющих по одному з-1, II и р-контакту III, IV. На рис. 102 нижние
p-контакты, а верхние з-контакты. На односкоростных лифтах з-контакты не
задейсткованы Посредством р контактов осуществляется поочередное
присоединение вторых выводных кондов катушек контакторов направления к
другому полюсу питающей сети (первые выводные концы катушек при помощи
проводов наглухо присоединены к первому полюсу сети)

Рис. 102. Этажный переключатель ПЭ-1:
1—штифт (ось ролика); 2 — ролик; 3 — шплинт, 4 — рычаг; 5 — нажимной
рычаг; 6 — шток блок-контакта, 7 — корпус этажного переключателя; 8, 10
— блок-контакты ЛКБ-31; 9 — винты для крепления блок-контактов; 11 —
винт, крепящий рамку; 12 — рамка, 13 — кулачок; 14 — ось кулачка; 15
-гайка;
16 — плоская шайба: 17 — пружинная шайба
На двухскоростных лифтах с неподвижным полом один из выводных концов
катушки контактора большой скорости наглухо присоединен к одному полюсу
питающей сети, а другой выводной конец этой катушки через з-контакты
блок-контактов этажного переключателя присоединяется ко второму полюсу
питающей сети. З-контакты этажного переключателя включены в цепь реле,
подающего питание на статорную обмотку электродвигателя механизма
открывания дверей кабины и шахты (РОД).
Переключение контактов одного и другого блок-контактов этажного
переключателя осуществляется механизмом переключения, который состоит из
нажимных рычагов 5, кулачка 13, жестко укрепленного на оси 14, рамки 12,
рычага 4 и ролика 2, свободно вращающегося на оси 1. Рычаг 4 жестко
укреплен на этой же оси 14 и может свободно поворачиваться вправо и
влево
Принцип работы этажных переключателей заключается в следующем
Нажимные рычаги 5 этажного переключателя действуют на штоки 6
блок-контактов Когда рычаг этажного переключателя находятся в левом
положении, на шток правого блок-контакта действует правый нажимной рычаг
и контакт размыкает цепь контактора, например для движения кабины вверх,
если же рычаги перевести вправо, то левый нажимной рычаг действует на
шток левого блок-контакта и он размыкает цепь контактора для движения
кабины вниз Если же рычаг установить вертикально, нажимные рычаги будут
действовать на штоки обоих блок-контактов и цепи обоих контакторов будут
разомкнуты. Таким образом, на лифте правые (левые) контакты всех этажных
переключателей параллельно включены, например, в цепь контактора
направления для движения кабины вверх, а все левые (правые) —
параллельно включены в цепь контактора направления для движения кабины
вниз При движении кабины по шахте рычаги этажных переключателей
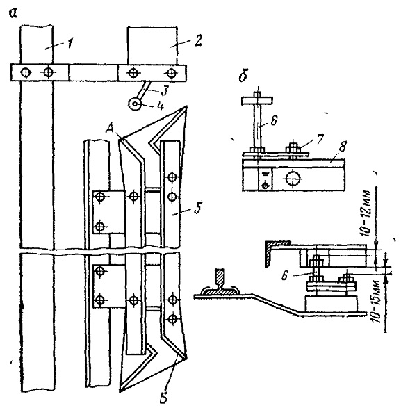
переключаются автоматически Для этого на каркасе кабины укреплена
комбинированная отводка 5 (рис 103,а), которая имеет вертикальную часть
паза и участки паза, расположенные под углом к вертикальной части Эти
участки расположены на концах отводки, причем в верхней части отводки
паз наклонен в одну сторону (на рис 103, а влево), и в нижней части — в
другую (вправо). Рычаг 3 этажного переключателя 2 повернут относительно
вертикали влево
При движении кабины, например вверх, комбинированная отводка набегает на
ролик 4 этажного переключателя следующего вверх этажа Ролик касается
края левого ребра А отводки и, как по наклонной плоскости, катится до ее
вертикального участка, при этом рычаг устанавливается в вертикальное
положение.
Когда кабила при движении встречается с этажным
переключателем этажа, контакт этажного реле которого в цепи контактора
направления не замкнут (кнопка приказа или вызова этого этажа не была
нажата), кабина продолжает движение в выбранном направлении и на ролик
набегает ребро Б комбинированной отводки, давит на ролик и переводит
рычаг в противоположную сторону Рычаг 3 оказывается повернутым
относительно вертикали вправо
Таким же образом при движении кабины вверх комбинированная отводка
переводит рычаг всех этажных переключателей из одного положения в другое
и все контакты блок-контактов, на которые действуют нажимные рычаги,
будут замкнуты Так осуществляется подготовка электрической цепи для
движения кабины в обратном направлении.
Кабина продолжает движение до тех пор, пока не встретится с этажным
переключателем этажа, кнопка приказа или вызова которого была нажата, т
е катушка контактора получает питание по цепи, замкнутой контактом
этажного переключателя этого этажа. При входе ролика этажного
переключателя в вертикальную часть паза отводки рычаг 3 становится в
вертикальное положение и контакт (см рис 102) размыкает цепь питания
контактора направления, теряет также питание электродвигатель и
тормозной электромагнит, накладывается тормоз и кабина останавливается.
На лифтах с двухскоростным приводом этажные
переключатели служат для размыкания цепи контактора большой скорости.
Для этого контакты этажных переключателей включены в цепь катушки
контактора большой скорости.
При движении кабины вверх на какой-либо этаж катушка контактора большой
скорости получает питание по цепи, замкнутой контактом этажного
переключателя этого этажа, комбинированная отводка переключает рычаги
этажных переключателей и подготавливается цепь обратного хода кабины.
Если кабина будет проходить мимо этажа, кнопки приказа или вызова
которых были нажаты и приказы или вызовы зарегистрированы, то при входе
ролика этажного переключателя в вертикальную часть паза рычаг 3
становится в вертикальное положение, контакт размыкает цепь питания
контактора большой скорости Контактор размыкает контакты в цепи обмотки
большой скорости электродвигателя, одновременно с этим получает питание
катушка контактора малой скорости и электродвигатель переходит на малую
скорость
Использование этажных переключателей на лифтах возможно при движении
кабины со скоростью не более 0,71 м/с и ограничено при движении кабины
со скоростью более 0,71 м/с.

Рис 103
Комбинированная отводка (а) и этажный
переключатель (б):
1 — направляющая кабины, 2 — этажный переключатель, 3 — рычаг, 4 —
ролик, 5 — комбинированная отводка; 6 — штифт, 7 — гайка; 8 — крышка
Содержание
- 1. Ермишкин В. Г. Техническое обслуживание лифтов онлайн
- 2. МАШИННЫЕ, БЛОЧНЫЕ ПОМЕЩЕНИЯ И ШАХТЫ ЛИФТОВ
- 3. Техническое обслуживание лифтовых машинных, блочных помещений и шахт
- 4. Распашные двери шахты лифтов
- 5. Автоматические и неавтоматические замками лифтов
- 6. Автоматические и неавтоматические замками лифтов
- 7. Электромагнитная отводка лифта
- 8. Раздвижные двери шахты лифта
- 9. Раздвижные двери шахты лифта
- 10. Распашные двери кабины и блок-контакты притвора створок лифта
- 11. Раздвижные двери кабины и блок-контакты контроля притвора створок
- 12.
- 13. Автоматический привод дверей лифтов
- 14. Автоматический привод дверей лифтов
- 15. Автоматический привод дверей лифтов
- 16. Техническое обслуживание лифтов
- 17. Техническое обслуживание лифтов
- 18. Техническое обслуживание лифтов
- 19. Лифты с раздвижными дверями и автоматическим приводом
- 20. Лифты с раздвижными дверями и автоматическим приводом
- 21. Лифты с раздвижными дверями и автоматическим приводом
- 22. Замена автоматических и неавтоматических замков дверей шахты лифтов сраспашными дверями
- 23. Замена автоматических и неавтоматических замков дверей шахты лифтов сраздвижными дверями
- 24. Технический осмотр распашных дверей кабины лифта
- 25. Технический осмотр раздвижных дверей кабины лифта
- 26. Технический осмотр узлов привода дверей лифта
- 27. Технический осмотр узлов привода дверей лифта
- 28. Замена электродвигателя лифта
- 29. Лифтовые редукторы
- 30. Лифтовые редукторы
- 31. Лифтовые редукторы
- 32. Лифтовые редукторы
- 33. Лифтовые канатоведущие шкивы
- 34. Лифтовые канатоведущие шкивы
- 35. Технический осмотр редуктора и канатоведущего шкива лифта
- 36. Технический осмотр редуктора и канатоведущего шкива лифта
- 37. ТОРМОЗНЫЕ УСТРОЙСТВА ЛИФТОВ
- 38. Тормозные электромагниты лифтов
- 39. Тормозные электромагниты лифтов
- 40. Тормозные электромагниты лифтов
- 41. Лифтовые тормоза
- 42. Технический осмотр и регулировка лифтового тормозного устройства сдлинноходовым тормозным электромагнитом КМТД-102
- 43. Ремонт лифтового тормоза тормозного устройства с длинноходовымэлектромагнитом КМТД-102
- 44. Особенности эксплуатации лифтовых тормозных устройств завода ЭМ ИЗ
- 45. Особенности эксплуатации лифтовых тормозных устройств с короткоходовымитормозными электромагнитами МП-201
- 46. ЛИФТОВЫЕ КАНАТЫ
- 47. ЛИФТОВЫЕ КАНАТЫ
- 48. ЛИФТОВЫЕ КАНАТЫ
- 49. ЛИФТОВЫЕ КАНАТЫ
- 50. Лифтовые подвески
- 51. Лифтовые подвески
- 52. Лифтовые подвески
- 53. Техническое обслуживание лифтовых канатов и подвесок
- 54. Технический осмотр лифтовых тяговых канатов
- 55. Технический осмотр лифтовых тяговых канатов
- 56. Технический осмотр лифтовых тяговых канатов
- 57. Технический осмотр лифтовых тяговых канатов
- 58. Технический осмотр лифтовых тяговых канатов
- 59. Замена лифтовых тяговых канатов при верхнем расположении машинногопомещения
- 60. Замена лифтовых тяговых канатов при верхнем расположении машинногопомещения
- 61. Лифтовые кабины
- 62. Лифтовые кабины
- 63. Лифтовые кабины
- 64. Подвижный пол кабины лифта
- 65. Противовес лифта
- 66. Направляющие для кабины лифта
- 67. Направляющие для кабины лифта
- 68. Технический осмотр кабины и противовеса, направляющих кабины ипротивовеса лифта
- 69. Технический осмотр купе и каркас кабины лифта
- 70. Технический осмотр противовеса лифта
- 71. Технический осмотр направляющих кабины и противовеса лифта
- 72. Технический осмотр и регулировка башмаков кабин лифтов моделей ЭМИЗ иКМЗ-1958
- 73. Технический осмотр и регулировка башмаков противовеса лифта модели ЭМИЗ
- 74. Технический осмотр и регулировка башмаков кабины и противовеса лифтов сраздвижными дверями
- 75. ЛИФТОВЫЕ ОГРАНИЧИТЕЛИ СКОРОСТИ
- 76. ЛИФТОВЫЕ ОГРАНИЧИТЕЛИ СКОРОСТИ
- 77. Ловители лифта
- 78. Клиновые ловители лифта
- 79. Технический осмотр и регулировка лифтовых ловителей
- 80. Технический осмотр и регулировка ограничителей скорости лифта
- 81. Замена ограничителей скорости лифта
- 82. Замена клиньев ловителей, разборка комбинированных ловителей лифтов
- 83. ВВОДНЫЕ РУБИЛЬНИКИ ЛИФТОВ
- 84. Технический осмотр вводного рубильника лифта
- 85. Трансформаторы лифтов
- 86. Трансформаторы лифтов
- 87. Реле и контакторы лифтов
- 88. Электромагнитные реле времени на лифтах
- 89. Емкостное реле времени на лифтах
- 90. Характеристика контактных групп реле и контакторов на лифтах
- 91. Автоматические выключатели на лифтах
- 92. Выпрямительные устройства на лифтах
- 93. Лифтовая двухполупериодная электросхема выпрямления переменного тока впостоянный
- 94. Лифт модели ЭМИЗ - электросхема
- 95. Лифт модели ЭМИЗ - Назначение блокировочных контактов, не имеющихмеханической связи с реле или контакторами
- 96. Лифт модели ЭМИЗ - Последовательность работы элементов электрическойсхемы но вызову кабины
- 97. Лифт модели ЭМИЗ - Работа электросхемы по приказам
- 98. Лифт модели ЭМИЗ -Работа электросхемы лифта по приказам
- 99. Лифт модели КМЗ-1958 - электросхема
- 100. Лифт модели КМЗ-1958 - Характеристика электрической схемы лифта
- 101. Лифт модели КМЗ-1958 - Работа электросхемы по приказам
- 102. Лифт модели КМЗ-1958 - Управление лифтом из машинного помещения
- 103. Лифт модели 1964 г. с неподвижным полом - электросхема
- 104. Лифт модели 1964 г. с неподвижным полом - Характеристика электрическойсхемы
- 105. Лифт с парным управлением с раздвижными дверями модели 1966 г -электросхема
- 106. Лифт с парным управлением с раздвижными дверями модели 1966 г -Назначение электроаппаратов и их контактов
- 107. Характеристика электрической схемы пассажирских лифтов со скоростьюдвижения кабины 1 м/с с парным управлением
- 108. Панели управления наиболее распространенных лифтов
- 109. Технический осмотр и регулировка электроаппаратов, установленных намагнитной станции лифта
- 110. Технический осмотр и регулировка реле типа МКУ-48 и ПЭ-6 на лифтах
- 111. Технический осмотр и регулировка реле типа РП-23 на лифтах
- 112. Технический осмотр и регулировка лифтовых электромагнитные реле времени
- 113. Технический осмотр и регулировка лифтовых контакторов КТП В-621
- 114. Технический осмотр и регулировка лифтовых контакторов ПА-421
- 115. Технический осмотр и регулировка лифтовых контакторов ПА-421
- 116. Технический осмотр электросхемы лифта модели ЭМИЗ
- 117. Технический осмотр электросхемы лифтов модели КМЗ-1958
- 118. Технический осмотр электросхемы лифтов модели 1966 г. с раздвижнымидверями
- 119. Замена электроаппаратов лифтов
- 120. АСИНХРОННЫЕ ЭЛЕКТРОДВИГАТЕЛИ ЛИФТОВ
- 121. Соединения обмоток асинхронных электродвигателей лифтов
- 122. Соединения обмоток лифтовых электродвигателей с фазовым икороткозамкнутым роторами
- 123. Технический осмотр асинхронного электродвигателя лифта
- 124. Замена электродвигателя главного привода лифта
- 125. Замена электродвигателя главного привода лифта
- 126. ЛИФТОВЫЕ ЭТАЖНЫЕ ПЕРЕКЛЮЧАТЕЛИ, ИНДУКТИВНЫЕ И КОНТАКТНЫЕ ДАТЧИКИ СЕЛЕКЦИИИ ДАТЧИКИ ТОЧНОЙ ОСТАНОВКИ
- 127. Лифтовые индуктивные датчики селекции и датчики точной остановки
- 128. Лифтовые контактные датчики типа ДПЭ-101 на герконах
- 129. Технический осмотр лифтовых этажных переключателей
- 130. Технический осмотр лифтовых индуктивных датчиков селекции и точнойостановки, контактные датчики тип ДПЭ
- 131. Замена лифтовых этажных переключателей, индуктивных и контактных датчиковселекции и датчиков точной остановки
- 132. ЛИФТОВЫЕ КОНЕЧНЫЕ ВЫКЛЮЧАТЕЛИ
- 133. Технический осмотр и регулировка лифтовых конечных выключатели рубящеготипа
- 134. Технический осмотр и регулировка лифтовых конечных выключателей ПЭ-1 1
- 135. Технический осмотр и регулировка лифтовых конечных выключателей ВК-200Б
- 136. Замена лифтовых конечных выключателей
- 137. ТЕХНИКА БЕЗОПАСНОСТИ ПРИ ТЕХНИЧЕСКОМ ОБСЛУЖИВАНИИ ЛИФТОВ
- 138. ТЕХНИКА БЕЗОПАСНОСТИ ПРИ ТЕХНИЧЕСКОМ ОБСЛУЖИВАНИИ ЛИФТОВ
- 139. ТЕХНИКА БЕЗОПАСНОСТИ ПРИ ТЕХНИЧЕСКОМ ОБСЛУЖИВАНИИ ЛИФТОВ
- 140. Общие требования при работах на лифте
- 141. Наложение и снятие переносных заземлений на лифте
- 142. Переключение электросхем лифтов
- 143. Работа, выполняемая в машинном и блочном помещениях лифта
- 144. Сварочные работы в машинных помещениях лифтов
- 145. Работа в шахте лифта
- 146. Требования техники безопасности при перемещении кабины лифта по шахте
- 147. Электросварочные работы в шахте лифта
- 148. Работа в шахте лифта в зоне верхнего крайнего рабочего этажа
- 149. Выполнение работ на лифтах с парным управлением грузоподъемностью 320 и500 кгс и скоростью движения кабины 1 м/с
- 150. Работа в приямке и в зоне нижнего крайнего этажа шахты лифта
- 151. Перечень запрещенных методов выполнения работ на лифтах
- 152. СПИСОК ЛИТЕРАТУРЫ (лифты)
- 153. Принципиальная электрическая схема пассажирского лифта грузоподъемностью320 или 500 кг со скоростью 1 м/с для жилых здании
- 154. Принципиальная электрическая схема пассажирского лифта грузоподъемностью500 или 1000 кг со скоростью 1 м/с для административных здании
- 155. Принципиальная электрическая схема пассажирского лифта грузоподъемностью500 или 1000 кг со скоростью 1,5 м/с административных здании (аа)
- 156. Принципиальная электрическая схема трех пассажирских лифтовгрузоподъемностью 500 или 1000 кг со скоростью 1 м/с для административных зданийс групповым управлением

от 890.00 руб./шт.

от 185.00 руб./шт.

от 132.00 руб./шт.

от 103.00 руб./шт.

от 391.00 руб./шт.

от 17 518.00 руб./шт.

от 17 518.00 руб./шт.

от 17 518.00 руб./шт.

от 2559.00 руб./шт.

от 1578.00 руб./шт.

от 890.00 руб./шт.





