17.
Монтаж электропроводки и электроаппаратуры лифта
17.1.
МОНТАЖ ТРУБ ЭЛЕКТРОРАЗВОДОК ПО ШАХТЕ ЛИФТА
17.1.1. Прокладку труб электроразводки по шахте производить согласно
установочному (монтажному) чертежу и схеме разводки проводов. Крепление
труб в шахте производить к кронштейнам, предусмотренным проектом.
17.1.2. Установить кронштейны крепления труб, для чего:
на верхней остановке (под перекрытием шахты) разметить место крепления
кронштейна к закладной. В случае крепления кронштейна дюбелями
необходимо разметить места установки дюбелей;
приварить верхний кронштейн к закладной детали или закрепить кронштейн
дюбелями (рис. 98);
по отвесу, спущенному с верхнего кронштейна, установить кронштейн на
нижней остановке и прикрепить к нему отвес;

Рис. 98. Установка кронштейнов для крепления труб:
1 - кронштейн; 2 - закладная деталь; 3 - скоба; 4 - труба диаметром 48 мм
по спущенным отвесам установить все кронштейны крепления труб с приваркой их к закладным или с помощью дюбелей;
аналогично описанному выше установить кронштейны, служащие для крепления стояка труб из машинного помещения к клеммной коробке № 2 (если проектом предусмотрен отдельно стоящий стояк из труб). При наличии в шахте металлических ригелей кронштейны (уголки крепления труб) устанавливать в той же последовательности и крепить к ригелям.
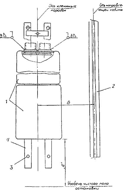
17.1.3. На середине высоты подъема кабины разметить согласно чертежу электроразводки проводов по шахте место установки клеммной коробки № 2, для чего:
перенести и отметить мелом на стене шахты уровень порога двери шахты или уровень чистого пола остановки;
отмерить расстояние от нанесенной метки до низа клеммной коробки № 2 (размер «А», рис. 99) и от оси направляющих кабины до оси клеммной коробки № 2 (размер «Б», рис. 99);

Рис. 99. Крепление клеммной коробки № 2:
1 - клеммные коробки; 2 - направляющая кабины; 3 - дюбель; 4 - рама
прикрепить раму клеммной коробки № 2 дюбелями марки К 436-К 438 к стене шахты или к закладным. Крепление кронштейнов труб к стенам шахты, а также установку коробки № 2 при отсутствии закладных деталей допускается производить дюбелями ДГП или ДВП с помощью пистолета ПЦ-52.
17.1.4. Перед началом монтажа труб электроразводки по шахте необходимо выполнить следующие подготовительные работы:
разложить трубы в порядке очередности их монтажа на крыше здания или вблизи первой остановки;
зачистить отверстия от заусенец;
открыть крышки клеммных коробок, в нижнюю часть каждой клеммной коробки вставить по трубе, выверить их положение относительно друг друга так, чтобы корпуса коробок были перпендикулярны трубам;
приварить корпуса коробок к трубам и надеть на каждую трубу втулку (рис. 100);

Рис. 100. Крепление труб к клеммным коробкам:
1 - втулка; 2 - клеммная коробка; 3 - труба
приварить муфты к верхним частям отрезков труб для соединения труб между собой при прокладке стояка труб из машинного помещения к клеммной коробке № 2 (рис. 101).
Примечание. Если проектом предусмотрено соединение труб с протяжной и клеммной коробками с помощью скоб, то их установку производить по мере наращивания стояка труб в шахте лифта.
17.1.5. После выполнения подготовительных работ монтаж труб электроразводок производить в приведенной ниже последовательности:
разметить место установки этажной клеммной коробки первого этажа и нанести на стене шахты отметку верха клеммной коробки;
доставить в шахту отрезок трубы, прокладываемый от клеммной коробки первого этажа до клеммной коробки второго;
прикрепить трубу к стене шахты так, чтобы уровень низа трубы совпадал с отметкой на стене шахты для установки клеммной коробки первого этажа;
приварить к установленной трубе клеммную коробку первого этажа;
вставить в отверстие клеммной коробки второго этажа следующую по порядку трубу с закрепленной клеммной коробкой третьего этажа, прикрепить трубу к кронштейнам и приварить клеммную коробку к трубе;

Рис. 101. Крепление муфты к трубе:
1 - муфта; 2 - труба
аналогично произвести монтаж остальных труб с закрепленными клеммными коробками.
Установку отдельного стояка труб от клеммной коробки № 2 в машинное помещение производить аналогично вышеописанному, соединяя трубы между собой с помощью муфт (рис. 102).
17.1.6. При креплении клеммных коробок к трубам с помощью скоб (рис. 103) их установку производить, начиная с первого этажа, в такой последовательности:

Рис. 102. Крепление труб между собой:
1 - трубы; 2 - муфта
установить трубу, к ней прикрепить клеммную коробку первого и второго этажей, затем следующую трубу, коробку и т.д.

Рис. 103. Крепление труб к клеммным коробкам скобами:
1 - труба; 2 - скоба; 3 - клеммная коробка; 4 - втулка
17.1.7. Из протяжной коробки, установленной в общем стояке в месте ответвления к клеммной коробке № 2, вывести отводы на клеммную коробку № 2 и прикрепить их с помощью скоб или сваркой. При недостаточной длине отрезка трубы соединение труб допускается производить с помощью втулок (см. рис. 102).
17.1.8. Монтаж труб электроразводки для постоянного освещения шахты производить в такой последовательности:
разметить места прокладки труб электроразводки по шахте лифта согласно проекту;
разобрать все трубы по размерам, к трубам приварить с одной стороны по ответвительной коробке, учитывая при этом, что ответвительные коробки ставятся в стояке через этаж;
вверху шахты установить кронштейн для крепления труб и по нему, опустив отвес, установить кронштейны на всех этажах. Кронштейны крепить к закладной детали или к стене дюбелем ДГП с помощью пистолета ПЦ-52, или к кронштейнам крепления направляющих, а также к металлическим ригелям электросваркой;
монтаж труб производить последовательно, начиная с низа шахты, соединить трубы друг с другом с помощью втулок и ответвительных коробок, к кронштейнам трубы крепить скобами (рис. 104);
вблизи каждой ответвительной коробки установить хомут и навесить на них светильники. Хомуты прихватить к трубам электросваркой.

Рис. 104. Установка труб электроразводок для постоянного освещения в шахте лифта:
1 - втулка; 2 - закладная деталь; 3 - полоса, скоба; 4 - светильник; 5 - крюк - хомут; 6 - ответвительная коробка; 7- труба; 8 - винт, гайка, шайба
17.1.9. При заготовке отводов на месте должны быть выполнены следующие условия:
при открытой прокладке труб и наличии одного изгиба радиус изгиба должен быть не менее 4, а при большем количестве изгибов не менее 6 наружных диаметров трубы. При прокладке труб под заливку бетоном радиус изгиба должен составлять не менее 10 наружных диаметров трубы. Угол изгиба труб должен быть не менее 90°.
Содержание
- 1. Инструкция по монтажу лифтов ВСН 210-80/ММСС СССР
- 2. ОРГАНИЗАЦИОННО-ТЕХНИЧЕСКИЕ МЕРОПРИЯТИЯ ПО МОНТАЖУ ЛИФТОВ
- 3. ПРОВЕРКА ГОТОВНОСТИ ОБЪЕКТА К МОНТАЖУ ЛИФТОВ
- 4. ИНСТРУМЕНТ И ОСНАСТКА БРИГАДЫ ПО МОНТАЖУ ЛИФТОВ
- 5. ОЗНАКОМЛЕНИЕ С ТЕХНИЧЕСКОЙ ДОКУМЕНТАЦИЕЙ ПО МОНТАЖУ ЛИФТА
- 6. ПРИЕМКА ЛИФТОВОГО ОБОРУДОВАНИЯ В МОНТАЖ И ЕГО РАСКОНСЕРВАЦИЯ
- 7. Последовательность выполнения лифтовых монтажных работ
- 8. УКРУПНЕНИЕ ОБОРУДОВАНИЯ ЛИФТОВ НА ПРОИЗВОДСТВЕННО-КОМПЛЕКТОВОЧНОЙ БАЗЕ
- 9. ДОСТАВКА ЛИФТОВОГО ОБОРУДОВАНИЯ К МЕСТУ МОНТАЖА С ПОМОЩЬЮ МОНТАЖНОЙЛЕБЕДКИ
- 10. Определение координат установки оборудования в шахте лифта
- 11. Установка кронштейнов крепления направляющих кабины и противовеса лифта
- 12. МОНТАЖ НАПРАВЛЯЮЩИХ КАБИНЫ ЛИФТА КРАНОМ
- 13. МОНТАЖ НАПРАВЛЯЮЩИХ КАБИНЫ ЛИФТА ЛЕБЕДКОЙ
- 14. МОНТАЖ ДВЕРЕЙ ШАХТЫ ПАССАЖИРСКИХ ЛИФТОВ
- 15. МОНТАЖ ДВЕРЕЙ ШАХТЫ ГРУЗОВЫХ ЛИФТОВ
- 16. Монтаж обрамлений дверных проемов лифта
- 17. Монтаж оборудования лифта в приямке
- 18. МОНТАЖ КАБИН ЛИФТОВ В СОБРАННОМ ВИДЕ
- 19. МОНТАЖ КАБИН ПАССАЖИРСКИХ ЛИФТОВ В РАЗОБРАННОМ ВИДЕ
- 20. МОНТАЖ КАБИН ГРУЗОВЫХ ЛИФТОВ
- 21. МОНТАЖ ЛИФТОВОЙ ЛЕБЕДКИ НА ПЕРЕКРЫТИИ ШАХТЫ
- 22. МОНТАЖ ОТВОДНЫХ БЛОКОВ И ЛЕБЕДКИ ЛИФТА, УСТАНАВЛИВАЕМЫХ НА ПОДЛЕБЕДОЧНЫХБАЛКАХ
- 23. МОНТАЖ ЛИФТОВОЙ ЛЕБЕДКИ И ОТВОДНЫХ БЛОКОВ НА ФУНДАМЕНТНОЙ ПЛИТЕ
- 24. МОНТАЖ ОТВОДНЫХ БЛОКОВ ЛИФТА
- 25. МОНТАЖ ПАНЕЛИ УПРАВЛЕНИЯ ЛИФТА
- 26. УСТАНОВКА ВВОДНОГО УСТРОЙСТВА ЛИФТА
- 27. УСТАНОВКА ТРАНСФОРМАТОРОВ ЛИФТА
- 28. УСТАНОВКА ЖЕСТКОЙ И БАЛАНСИРНОЙ ПОДВЕСОК ЛИФТА
- 29. МОНТАЖ ТЯГОВЫХ КАНАТОВ ПАССАЖИРСКИХ ЛИФТОВ
- 30. МОНТАЖ ТЯГОВЫХ КАНАТОВ ГРУЗОВЫХ И БОЛЬНИЧНЫХ ЛИФТОВ
- 31. МОНТАЖ ТЯГОВЫХ КАНАТОВ ГРУЗОВЫХ ВЫЖИМНЫХ ЛИФТОВ
- 32. Монтаж лифтового каната ограничителя скорости
- 33. Монтаж лифтовых уравновешивающих цепей и компенсирующих канатов
- 34. МОНТАЖ ТРУБ ЭЛЕКТРОРАЗВОДОК ПО ШАХТЕ ЛИФТА
- 35. МОНТАЖ ТРУБ ЭЛЕКТРОРАЗВОДКИ ПО МАШИННОМУ ПОМЕЩЕНИЮ ЛИФТА
- 36. МОНТАЖ ЭЛЕКТРОАППАРАТОВ ЛИФТА
- 37. УСТРОЙСТВО ЗАЗЕМЛЕНИЯ ЛИФТОВОГО ОБОРУДОВАНИЯ
- 38. МОНТАЖ ЖГУТОВ ЛИФТОВЫХ ПРОВОДОВ ПРИ ПРОКЛАДКЕ ИХ БЕЗ ТРУБ
- 39. ПРОКЛАДКА И ПОДСОЕДИНЕНИЕ ЛИФТОВОЙ ЭЛЕКТРОПРОВОДКИ ПО ШАХТЕ И МАШИННОМУПОМЕЩЕНИЮ
- 40. МОНТАЖ ПОДВЕСНОГО КАБЕЛЯ ЛИФТА
- 41. ЗАМЕР СОПРОТИВЛЕНИЯ ИЗОЛЯЦИИ ЛИФТА
- 42. Строительно-отделочные работы в шахте лифта
- 43. Опробование лифта после монтажа
- 44. Регулировка оборудования лифта
- 45. Наладочные работы после выполнения механической регулировки всех узловоборудования лифта
- 46. Техника безопасности при монтаже лифтов
- 47. АКТ обследования строительной части лифтовой установки под монтаж
- 48. ПЕРЕЧЕНЬ сопроводительной документации при монтаже лифта
- 49. ПЕРЕЧЕНЬ специального инструмента и приспособлений для пассажирских игрузовых лифтов
- 50. ПРИМЕРНЫЙ ПЕРЕЧЕНЬ РАБОТ, ВЫПОЛНЯЕМЫХ ПО ШАХТЕ И МАШИННОМУ ПОМЕЩЕНИЮЛИФТА
- 51. ТАБЛИЦА измеряемых сопряжений (расстояний, зазоров) между элементамиоборудования лифта
- 52. АКТ технической готовности и приемки лифта
- 53. СОДЕРЖАНИЕ - ИНСТРУКЦИЯ ПО МОНТАЖУ ЛИФТОВ ВСН 210-80

от 890.00 руб./шт.

от 185.00 руб./шт.

от 132.00 руб./шт.

от 103.00 руб./шт.

от 391.00 руб./шт.

от 17 518.00 руб./шт.

от 17 518.00 руб./шт.

от 17 518.00 руб./шт.

от 0.00 руб./шт.

от 2559.00 руб./шт.

от 1578.00 руб./шт.

от 890.00 руб./шт.





