13.8.1. На специальную этажерку установить трансформаторы (рис. 82) и прикрепить их болтами к раме этажерки.

Рис. 82. Установка трансформаторов на этажерке:
1 - этажерка; 2 - трансформатор НТС; 3 - трансформатор ТС; 4 - выпрямитель; 5 - трансформатор ОСО
13.8.2. На полу машинного помещения разметить место установки этажерки, руководствуясь установочным чертежом, перенести этажерку в намеченное место, временно раскрепить ее к стене машинного помещения и сдать этажерку под заливку бетоном.
13.8.3. Если проектом крепление трансформаторов предусмотрено непосредственно к стенам машинного помещения, то их установку производить в приведенной ниже последовательности:
руководствуясь установочным чертежом, на стене машинного помещения наметить места установки трансформаторов;
по отверстиям в кронштейнах на стене разметить места для сверления отверстий;
просверлить сквозные отверстия в стене машинного помещения;
на шпильку надеть планку и навернуть гайку, вставить шпильку в отверстие с наружной стороны стены машинного помещения;
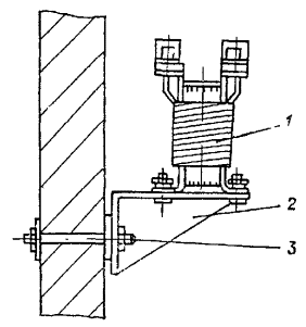
на шпильки установить кронштейн с трансформатором и затянуть болты (рис. 83).

Рис. 83. Крепление трансформатора к стене машинного помещения:
1 - трансформатор; 2 - кронштейн; 3 - шпилька, гайка, шайба
Если трансформаторы крепятся с помощью анкерных болтов или дюбелей, то их установку производить, как показано на рис. 84. Допускается установку кронштейнов под трансформаторы производить на дюбелях (винтах) ДВП с помощью поршневого пистолета ПЦ-52.

Рис. 84. Крепление трансформатора к стене машинного помещения (вариант):
1 - трансформатор; 2 - кронштейн; 3 - анкерный болт, гайка
Содержание
- 1. Инструкция по монтажу лифтов ВСН 210-80/ММСС СССР
- 2. ОРГАНИЗАЦИОННО-ТЕХНИЧЕСКИЕ МЕРОПРИЯТИЯ ПО МОНТАЖУ ЛИФТОВ
- 3. ПРОВЕРКА ГОТОВНОСТИ ОБЪЕКТА К МОНТАЖУ ЛИФТОВ
- 4. ИНСТРУМЕНТ И ОСНАСТКА БРИГАДЫ ПО МОНТАЖУ ЛИФТОВ
- 5. ОЗНАКОМЛЕНИЕ С ТЕХНИЧЕСКОЙ ДОКУМЕНТАЦИЕЙ ПО МОНТАЖУ ЛИФТА
- 6. ПРИЕМКА ЛИФТОВОГО ОБОРУДОВАНИЯ В МОНТАЖ И ЕГО РАСКОНСЕРВАЦИЯ
- 7. Последовательность выполнения лифтовых монтажных работ
- 8. УКРУПНЕНИЕ ОБОРУДОВАНИЯ ЛИФТОВ НА ПРОИЗВОДСТВЕННО-КОМПЛЕКТОВОЧНОЙ БАЗЕ
- 9. ДОСТАВКА ЛИФТОВОГО ОБОРУДОВАНИЯ К МЕСТУ МОНТАЖА С ПОМОЩЬЮ МОНТАЖНОЙЛЕБЕДКИ
- 10. Определение координат установки оборудования в шахте лифта
- 11. Установка кронштейнов крепления направляющих кабины и противовеса лифта
- 12. МОНТАЖ НАПРАВЛЯЮЩИХ КАБИНЫ ЛИФТА КРАНОМ
- 13. МОНТАЖ НАПРАВЛЯЮЩИХ КАБИНЫ ЛИФТА ЛЕБЕДКОЙ
- 14. МОНТАЖ ДВЕРЕЙ ШАХТЫ ПАССАЖИРСКИХ ЛИФТОВ
- 15. МОНТАЖ ДВЕРЕЙ ШАХТЫ ГРУЗОВЫХ ЛИФТОВ
- 16. Монтаж обрамлений дверных проемов лифта
- 17. Монтаж оборудования лифта в приямке
- 18. МОНТАЖ КАБИН ЛИФТОВ В СОБРАННОМ ВИДЕ
- 19. МОНТАЖ КАБИН ПАССАЖИРСКИХ ЛИФТОВ В РАЗОБРАННОМ ВИДЕ
- 20. МОНТАЖ КАБИН ГРУЗОВЫХ ЛИФТОВ
- 21. МОНТАЖ ЛИФТОВОЙ ЛЕБЕДКИ НА ПЕРЕКРЫТИИ ШАХТЫ
- 22. МОНТАЖ ОТВОДНЫХ БЛОКОВ И ЛЕБЕДКИ ЛИФТА, УСТАНАВЛИВАЕМЫХ НА ПОДЛЕБЕДОЧНЫХБАЛКАХ
- 23. МОНТАЖ ЛИФТОВОЙ ЛЕБЕДКИ И ОТВОДНЫХ БЛОКОВ НА ФУНДАМЕНТНОЙ ПЛИТЕ
- 24. МОНТАЖ ОТВОДНЫХ БЛОКОВ ЛИФТА
- 25. МОНТАЖ ПАНЕЛИ УПРАВЛЕНИЯ ЛИФТА
- 26. УСТАНОВКА ВВОДНОГО УСТРОЙСТВА ЛИФТА
- 27. УСТАНОВКА ТРАНСФОРМАТОРОВ ЛИФТА
- 28. УСТАНОВКА ЖЕСТКОЙ И БАЛАНСИРНОЙ ПОДВЕСОК ЛИФТА
- 29. МОНТАЖ ТЯГОВЫХ КАНАТОВ ПАССАЖИРСКИХ ЛИФТОВ
- 30. МОНТАЖ ТЯГОВЫХ КАНАТОВ ГРУЗОВЫХ И БОЛЬНИЧНЫХ ЛИФТОВ
- 31. МОНТАЖ ТЯГОВЫХ КАНАТОВ ГРУЗОВЫХ ВЫЖИМНЫХ ЛИФТОВ
- 32. Монтаж лифтового каната ограничителя скорости
- 33. Монтаж лифтовых уравновешивающих цепей и компенсирующих канатов
- 34. МОНТАЖ ТРУБ ЭЛЕКТРОРАЗВОДОК ПО ШАХТЕ ЛИФТА
- 35. МОНТАЖ ТРУБ ЭЛЕКТРОРАЗВОДКИ ПО МАШИННОМУ ПОМЕЩЕНИЮ ЛИФТА
- 36. МОНТАЖ ЭЛЕКТРОАППАРАТОВ ЛИФТА
- 37. УСТРОЙСТВО ЗАЗЕМЛЕНИЯ ЛИФТОВОГО ОБОРУДОВАНИЯ
- 38. МОНТАЖ ЖГУТОВ ЛИФТОВЫХ ПРОВОДОВ ПРИ ПРОКЛАДКЕ ИХ БЕЗ ТРУБ
- 39. ПРОКЛАДКА И ПОДСОЕДИНЕНИЕ ЛИФТОВОЙ ЭЛЕКТРОПРОВОДКИ ПО ШАХТЕ И МАШИННОМУПОМЕЩЕНИЮ
- 40. МОНТАЖ ПОДВЕСНОГО КАБЕЛЯ ЛИФТА
- 41. ЗАМЕР СОПРОТИВЛЕНИЯ ИЗОЛЯЦИИ ЛИФТА
- 42. Строительно-отделочные работы в шахте лифта
- 43. Опробование лифта после монтажа
- 44. Регулировка оборудования лифта
- 45. Наладочные работы после выполнения механической регулировки всех узловоборудования лифта
- 46. Техника безопасности при монтаже лифтов
- 47. АКТ обследования строительной части лифтовой установки под монтаж
- 48. ПЕРЕЧЕНЬ сопроводительной документации при монтаже лифта
- 49. ПЕРЕЧЕНЬ специального инструмента и приспособлений для пассажирских игрузовых лифтов
- 50. ПРИМЕРНЫЙ ПЕРЕЧЕНЬ РАБОТ, ВЫПОЛНЯЕМЫХ ПО ШАХТЕ И МАШИННОМУ ПОМЕЩЕНИЮЛИФТА
- 51. ТАБЛИЦА измеряемых сопряжений (расстояний, зазоров) между элементамиоборудования лифта
- 52. АКТ технической готовности и приемки лифта
- 53. СОДЕРЖАНИЕ - ИНСТРУКЦИЯ ПО МОНТАЖУ ЛИФТОВ ВСН 210-80

от 890.00 руб./шт.

от 185.00 руб./шт.

от 132.00 руб./шт.

от 103.00 руб./шт.

от 391.00 руб./шт.

от 17 518.00 руб./шт.

от 17 518.00 руб./шт.

от 17 518.00 руб./шт.

от 0.00 руб./шт.

от 2559.00 руб./шт.

от 1578.00 руб./шт.

от 890.00 руб./шт.





