12.2.
МОНТАЖ КАБИН ПАССАЖИРСКИХ ЛИФТОВ В РАЗОБРАННОМ ВИДЕ
12.2.1. Разборку кабин пассажирских лифтов производить в том случае, если к моменту начала работ по монтажу кабин шахта лифта перекрыта и доставка кабин в шахту в полном собранном виде не представляется возможной.
12.2.2. На площадке складирования лифтового оборудования кабина подлежит разборке на следующие узлы: верхние и нижние балки каркаса кабины, стойки каркаса кабины, раму с полом, вертикальные стояки купе кабины, боковые щиты купе кабины, потолок, вертикальные тяги рычагов включения ловителей, раму с приводом двери, верхнюю балку двери, створки двери.
12.2.3. Сборку кабин пассажирских лифтов производить по чертежам завода-изготовителя вверху шахты на балках или при невозможности транспортирования узлов кабины на верхнюю остановку - внизу шахты на специально усыновленных деревянных подставках, раскрепленных к направляющим кабины или на балках, устанавливаемых аналогично п. 12.1.3 настоящей инструкции.
12.2.4. Произвести сборку каркаса кабины, для чего: снять с одной стороны нижней балки каркаса кабины скользящий или роликовый башмак и завести нижнюю балку в шахту;
поднять монтажной лебедкой нижнюю балку каркаса кабины выше ранее установленной подставки (п. 12.2.3 настоящей инструкции), установить в скользящий башмак чугунный вкладыш, завести скользящий или роликовый башмак в направляющую кабины и опустить нижнюю балку на подставки;
в ранее снятый скользящий башмак установить чугунный вкладыш, завести скользящий или роликовый башмак в направляющую кабины и прикрепить его к нижней балке;
выверить балку по уровню. Отклонение от горизонтали не должно превышать 1 мм на 1 м. Установить вертикальные стояки, прикрепив их к нижней балке;
на нижнюю балку установить раму пола и прикрепить к стоякам (рис. 49);

Рис. 49. Установка нижней балки каркаса кабины и стояков:
1 - стояк; 2 - рама с подвижным полом; 3 - нижняя балка; 4 - поперечная балка
с одной стороны верхней балки каркаса кабины снять скользящий башмак, монтажной лебедкой поднять верхнюю балку и завести ее в направляющие кабины аналогично нижней балке и прикрепить к стоякам каркаса кабины болтами и гайками (рис. 50);
установить тяги рычагов включения ловителей (при нижнем расположении ловителей);
прикрепить к каркасу короб для прокладки подвесного кабеля.
12.2.5. При сборке каркаса кабины должны быть соблюдены следующие условия:
все болтовые соединения должны быть завернуты до отказа с установкой пружинных шайб;
стойки должны быть установлены перпендикулярно раме пола. Допустимое отклонение стоек от перпендикулярности не должно превышать 2 мм на всю высоту стойки;
башмаки кабины должны быть установлены таким образом, чтобы они не вызывали перекоса кабины и обеспечивали движение ее в направляющих без заедания. Боковые и торцовые поверхности всех башмаков кабины должны быть параллельны между собой и перпендикулярны полу кабины;

Рис. 50. Установка верхней балки:
1, 2, 3 - положения верхней балки при соединении ее со стояками
суммарный боковой зазор между вкладышем башмака кабины и направляющей кабины не должен превышать 4 мм (по 2 мм на сторону). Суммарный зазор по штихмассу между вкладышами башмаков не должен превышать 4 мм;
для кабин с роликовыми башмаками ролики должны прилегать ж рабочим поверхностям направляющих по всей ширине обода, без зазора;
ловители должны быть установлены так, чтобы рабочие поверхности клиньев (или клина и колодки) были параллельны пазам башмаков и соосны им. Допуск на непараллельность не более 0,1 мм на длину клина. Допускается несоосность клиньев и башмаков не более 0,5 мм.
12.2.6. Последовательность сборки купе кабины с ограждением из щитов:
к неподвижной раме пола прикрепить вертикальные стояки;
занести потолок и привязать его к верхней балке кабины;
на стояки надеть резиновые прокладки;

Рис. 51. Установка щитов ограждения:
1 - щит ограждения; 2 - прокладка; 3 - потолок
установить щиты ограждения, предварительно прибив сверху прокладку (рис. 51), и прижать щиты к стоякам вертикальными раскладками (рис. 52);
отвязать потолок от верхней балки и прикрепить его к стоякам;
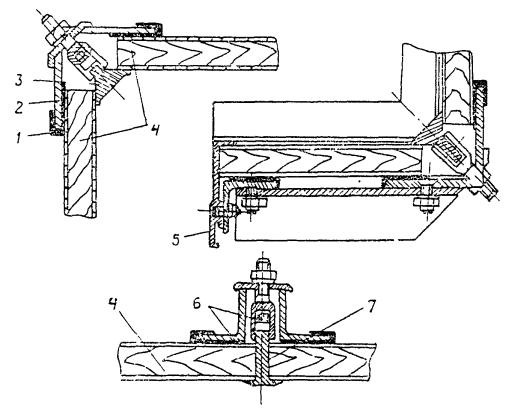
установить обрамление дверного проема и щиты над ним (рис. 53). Вариант крепления обрамлений на примере кабины грузопассажирского лифта грузоподъемностью 500 кг представлен на рис. 54;

Рис. 53. Установка щитов над дверным проемом:
1 - обрамление; 2 - щит; 3 - прокладка, 4 - потолок

Рис. 52. Крепление щитов ограждения купе:
1 - резиновая обкладка, 2 - вертикальный стояк, 3 - раскладка в сборе; 4 - щиты ограждения, 5 - обрамление дверного проема; 6 - вертикальные стояки; 7 - раскладка в сборе

Рис. 54. Крепление обрамления дверного проема:
1 - вентиляционная решетка; 2 - потолок; 3 - верхнее обрамление; 4 - боковое обрамление; 5 - передний правый щит; 6 - уголок; 7 - швеллер; 8 - передний левый щит
выворачивая прижимные болты (рис. 55), плотно подогнать стенки кабины к потолку;
стенки кабины, состоящие из двух и более щитов, сжать прижимными болтами (рис. 56).
Примечание. До прижатия щитов к потолку и щитов между собой болты крепления раскладок не затягивать. Стенки купе кабины должны быть установлены перпендикулярно к раме пола. Допустимое отклонение не более 2 мм на всю высоту стенки.
12.2.7. Последовательность сборки дверей кабины:
прикрепить верхнюю балку двери кабины к кронштейнам потолка (привод двери крепится к балке двери кабины);
закрепить опорный уголок линейки (лифт грузоподъемностью 500 кг, вход с широкой стороны) с установленными каретками, ДК и ВКР, на потолок установить раму с приводом двери кабины и закрепить раму в верхней балке каркаса кабины с помощью болтов и гаек, установить цепь и подтянуть ее натяжным болтом;
со шпилек створок снять по одной гайке и шайбе и демонтировать контрольные башмачки;

Рис. 55. Прижатие стенок кабины к потолку:
1 - раскладка; 2 - щит; 3 - прижимной болт

Рис. 56. Прижатие щитов купе больших размеров:
1 - щит; 2 - вертикальная раскладка; 3 - вертикальный уголок; 4 - прижимной болт
завести шпильки створок в отверстия кареток и на шпильки навернуть ранее снятые болты (рис. 57);
в паз порога завести башмачки створок двери кабины и прикрепить их к створкам болтами;
при наличии шпингалетного замка установить ранее снятую тягу.
Собранная дверь кабины на примере лифта грузоподъемностью 320 кг представлена на рис. 58.

Рис. 57. Установка створок раздвижных дверей кабины:
1 - направляющая линейка; 2 - каретка; 3 - регулировочные гайки; 4 - шпилька; 5 - створка; 6 - башмачок; 7 - отвес
12.2.8. При сборке дверей кабины должны быть выполнены следующие требования:
линейка верхней балки двери кабины должна быть установлена параллельно порогу. Непараллельность не более 1 мм на длину 1000 мм;
зазор между створками дверей и обрамлением кабины должен быть в пределах 2-6 мм; непараллельность зазора не более 1 мм по всей длине створки;
створки должны передвигаться свободно без заеданий от усилия не более 1 кг при снятой пружине;
створки должны закрываться плотно. Допускаются местные просветы не более 2 мм на длину до 300 мм;
лицевые поверхности створок должны лежать в одной вертикальной плоскости. Отклонение по всей высоте не более 2 мм;
зазоры между контрроликами кареток и направляющей линейкой не более 0,2 мм;
при закрытых створках нормально разомкнутый ДК должен быть замкнут, запас хода 1-1,5 мм;
запертый шпингалетный замок должен перекрывать упор на высоту не менее 6 мм. Штанги замка под действием пружины должны свободно без заедания возвращаться в исходное положение;
цепь должна быть параллельна линейке в вертикальной плоскости;

Рис. 58. Раздвижные двери кабины:
1 - левая створка; 2 - отводка; 3 каретка; 4 - балка дверей кабины; 5 - привод дверей; 6 - водило; 7 - контрролик; 8 - правая створка; 9 - башмачок
отклонение от вертикали плоскостей отводок кареток не более 2 мм;
замыкание нормально разомкнутого ДК должно происходить при зазоре между створками не более 5 мм;
при закрытой большой створке (лифт 500 кг) и запертом его замке нормально разомкнутый контакт ВКР должен быть замкнут;
при установке привода должна быть обеспечена параллельность плоскости вращения рычага к плоскости движения кареток. Допустимое отклонение 1 мм на радиусе рычага. Контроль производить в трех положениях рычага;
зазор между хвостовиком коромысла и дугой рычага микропереключателя должен быть 0,5-1,0 мм при работе привода без реверса;
кулачки ВКО и ВКЗ привода должны быть выставлены так, чтобы обеспечивалось горизонтальное положение рычага в крайних положениях. Допустимое отклонение рычага от горизонтали 3-5 мм.

Рис. 59. Клиновые ловители, устанавливаемые на верхней балке кабины:
1 - клин; 2 - колодка; 3 - подъемный рычаг; 4 - соединительный рычаг; 5 - малая тяга; 6 - стяжная муфта; 7 - пружина; 8 - большая тяга; 9 - контакт ловителей; 10 - рычаг; 11 - планка; 12 - канат; 13 - направляющая кабина
12.2.9. Произвести регулировку срабатывания ловителей, для чего вручную несколько раз привести в движение механизм включения ловителей и проверить легкость его хода. К рычагу механизма включения ловителей прикрепить динамометр и поднять рычаг вверх. Механизм ловителей должен придти в движение и приблизить клинья к направляющим при усилии не более 15 кгс. В случае необходимости произвести регулировку возвратной пружины механизма включения ловителей, отвинчивая или ввинчивая гайку и контргайку (рис. 59-61). Все клинья ловителей должны одновременно коснуться направляющих.
12.2.10. Проверить зазоры между клиньями ловителей и башмаками кабины с помощью скоб или линейки, руководствуясь техническими требованиями согласно п. 12.2.5 настоящей инструкции и ТУ завода-изготовителя. В случае необходимости произвести регулировку зазоров между клиньями ловителей и направляющими. Регулировку зазоров между клиньями клиновых ловителей производить с помощью стяжной муфты (см. рис. 59-61). Кроме того, в клещевых ловителях необходимо проверить установочный размер клина. Расстояние от колодки клина до нижней части шеек, в которых перемещается клин (ход клина), должно быть: для ловителей № 3 - 73 или 53 мм в зависимости от конструкции ловителей, для ловителей № 2 - 80 мм. При необходимости произвести регулировку установочного размера, для чего ослабить контргайку стяжной муфты вертикальной тяги, вывинтить или ввинтить регулировочную муфту, добиться требуемого размера, зафиксировать положение муфты контргайкой.

Рис. 60. Клиновые ловители, устанавливаемые на нижней балке кабины:
1 - клин; 2 - колодка; 3 - подъемный рычаг; 4 - рычаг; 5 - малая тяга, 6 - стяжная муфта; 7 - пружина; 8 - большая тяга; 9 - контакт ловителей; 10 - приводной рычаг; 11 - трос; 12 - направляющая кабины

Рис. 61. Клещевые ловители:
1 - клин; 2 - тормозная колодка; 3 - левый рычаг; 4 - правый рычаг; 5 - регулировочная пружина; 6 - пружина; 7, 8- стяжной болт; 9 - канат; 10 - планка; 11 - приводной рычаг; 12 - контакт ловителей; 13 - большая тяга; 14 -пружина; 15 - стяжная муфта; 16 - малая тяга; 17 - соединительный рычаг; 18 - подъемный рычаг; 19 - стяжная муфта; 20 - вертикальная тяга
12.2.11. Проверить выключатель ловителей. При подъеме рычага включения ловителей на 2/3 от его исходного положения контакты выключателя должны разомкнуться.
Содержание
- 1. Инструкция по монтажу лифтов ВСН 210-80/ММСС СССР
- 2. ОРГАНИЗАЦИОННО-ТЕХНИЧЕСКИЕ МЕРОПРИЯТИЯ ПО МОНТАЖУ ЛИФТОВ
- 3. ПРОВЕРКА ГОТОВНОСТИ ОБЪЕКТА К МОНТАЖУ ЛИФТОВ
- 4. ИНСТРУМЕНТ И ОСНАСТКА БРИГАДЫ ПО МОНТАЖУ ЛИФТОВ
- 5. ОЗНАКОМЛЕНИЕ С ТЕХНИЧЕСКОЙ ДОКУМЕНТАЦИЕЙ ПО МОНТАЖУ ЛИФТА
- 6. ПРИЕМКА ЛИФТОВОГО ОБОРУДОВАНИЯ В МОНТАЖ И ЕГО РАСКОНСЕРВАЦИЯ
- 7. Последовательность выполнения лифтовых монтажных работ
- 8. УКРУПНЕНИЕ ОБОРУДОВАНИЯ ЛИФТОВ НА ПРОИЗВОДСТВЕННО-КОМПЛЕКТОВОЧНОЙ БАЗЕ
- 9. ДОСТАВКА ЛИФТОВОГО ОБОРУДОВАНИЯ К МЕСТУ МОНТАЖА С ПОМОЩЬЮ МОНТАЖНОЙЛЕБЕДКИ
- 10. Определение координат установки оборудования в шахте лифта
- 11. Установка кронштейнов крепления направляющих кабины и противовеса лифта
- 12. МОНТАЖ НАПРАВЛЯЮЩИХ КАБИНЫ ЛИФТА КРАНОМ
- 13. МОНТАЖ НАПРАВЛЯЮЩИХ КАБИНЫ ЛИФТА ЛЕБЕДКОЙ
- 14. МОНТАЖ ДВЕРЕЙ ШАХТЫ ПАССАЖИРСКИХ ЛИФТОВ
- 15. МОНТАЖ ДВЕРЕЙ ШАХТЫ ГРУЗОВЫХ ЛИФТОВ
- 16. Монтаж обрамлений дверных проемов лифта
- 17. Монтаж оборудования лифта в приямке
- 18. МОНТАЖ КАБИН ЛИФТОВ В СОБРАННОМ ВИДЕ
- 19. МОНТАЖ КАБИН ПАССАЖИРСКИХ ЛИФТОВ В РАЗОБРАННОМ ВИДЕ
- 20. МОНТАЖ КАБИН ГРУЗОВЫХ ЛИФТОВ
- 21. МОНТАЖ ЛИФТОВОЙ ЛЕБЕДКИ НА ПЕРЕКРЫТИИ ШАХТЫ
- 22. МОНТАЖ ОТВОДНЫХ БЛОКОВ И ЛЕБЕДКИ ЛИФТА, УСТАНАВЛИВАЕМЫХ НА ПОДЛЕБЕДОЧНЫХБАЛКАХ
- 23. МОНТАЖ ЛИФТОВОЙ ЛЕБЕДКИ И ОТВОДНЫХ БЛОКОВ НА ФУНДАМЕНТНОЙ ПЛИТЕ
- 24. МОНТАЖ ОТВОДНЫХ БЛОКОВ ЛИФТА
- 25. МОНТАЖ ПАНЕЛИ УПРАВЛЕНИЯ ЛИФТА
- 26. УСТАНОВКА ВВОДНОГО УСТРОЙСТВА ЛИФТА
- 27. УСТАНОВКА ТРАНСФОРМАТОРОВ ЛИФТА
- 28. УСТАНОВКА ЖЕСТКОЙ И БАЛАНСИРНОЙ ПОДВЕСОК ЛИФТА
- 29. МОНТАЖ ТЯГОВЫХ КАНАТОВ ПАССАЖИРСКИХ ЛИФТОВ
- 30. МОНТАЖ ТЯГОВЫХ КАНАТОВ ГРУЗОВЫХ И БОЛЬНИЧНЫХ ЛИФТОВ
- 31. МОНТАЖ ТЯГОВЫХ КАНАТОВ ГРУЗОВЫХ ВЫЖИМНЫХ ЛИФТОВ
- 32. Монтаж лифтового каната ограничителя скорости
- 33. Монтаж лифтовых уравновешивающих цепей и компенсирующих канатов
- 34. МОНТАЖ ТРУБ ЭЛЕКТРОРАЗВОДОК ПО ШАХТЕ ЛИФТА
- 35. МОНТАЖ ТРУБ ЭЛЕКТРОРАЗВОДКИ ПО МАШИННОМУ ПОМЕЩЕНИЮ ЛИФТА
- 36. МОНТАЖ ЭЛЕКТРОАППАРАТОВ ЛИФТА
- 37. УСТРОЙСТВО ЗАЗЕМЛЕНИЯ ЛИФТОВОГО ОБОРУДОВАНИЯ
- 38. МОНТАЖ ЖГУТОВ ЛИФТОВЫХ ПРОВОДОВ ПРИ ПРОКЛАДКЕ ИХ БЕЗ ТРУБ
- 39. ПРОКЛАДКА И ПОДСОЕДИНЕНИЕ ЛИФТОВОЙ ЭЛЕКТРОПРОВОДКИ ПО ШАХТЕ И МАШИННОМУПОМЕЩЕНИЮ
- 40. МОНТАЖ ПОДВЕСНОГО КАБЕЛЯ ЛИФТА
- 41. ЗАМЕР СОПРОТИВЛЕНИЯ ИЗОЛЯЦИИ ЛИФТА
- 42. Строительно-отделочные работы в шахте лифта
- 43. Опробование лифта после монтажа
- 44. Регулировка оборудования лифта
- 45. Наладочные работы после выполнения механической регулировки всех узловоборудования лифта
- 46. Техника безопасности при монтаже лифтов
- 47. АКТ обследования строительной части лифтовой установки под монтаж
- 48. ПЕРЕЧЕНЬ сопроводительной документации при монтаже лифта
- 49. ПЕРЕЧЕНЬ специального инструмента и приспособлений для пассажирских игрузовых лифтов
- 50. ПРИМЕРНЫЙ ПЕРЕЧЕНЬ РАБОТ, ВЫПОЛНЯЕМЫХ ПО ШАХТЕ И МАШИННОМУ ПОМЕЩЕНИЮЛИФТА
- 51. ТАБЛИЦА измеряемых сопряжений (расстояний, зазоров) между элементамиоборудования лифта
- 52. АКТ технической готовности и приемки лифта
- 53. СОДЕРЖАНИЕ - ИНСТРУКЦИЯ ПО МОНТАЖУ ЛИФТОВ ВСН 210-80

от 1030.00 руб./шт.

от 224.00 руб./шт.

от 195.00 руб./шт.

от 195.00 руб./шт.

от 402.00 руб./шт.

от 402.00 руб./шт.

от 288.00 руб./шт.

от 288.00 руб./шт.

от 288.00 руб./шт.

от 56.00 руб./шт.

от 224.00 руб./шт.

от 138.00 руб./шт.





