12. Монтаж кабин лифта
12.1.
МОНТАЖ КАБИН ЛИФТОВ В СОБРАННОМ ВИДЕ
12.1.1. Кабины пассажирских и грузопассажирских лифтов, а также грузовых
грузоподъемностью 500 и 1000 кг поступают с заводов - изготовителей
лифтового оборудования в собранном виде.
12.1.2. Монтаж кабин рекомендуется производить с помощью строительного
крана до перекрытия шахты и машинного помещения.
12.1.3. Монтаж кабин начинать с установки в шахте лифта продольных и
поперечных балок. Балки должны быть установлены на предпоследней
остановке и упираться в ниши для установки брусьев подмостей (см. рис.
32). При отсутствии ниш балки устанавливать на ригели или кронштейны,
прикрепленные к стенам с помощью дюбелей. В качестве балок использовать
швеллеры или двутавры. Номера балок для установки на них кабин указаны в
табл. 14.
12.1.4. Застропить кабину, ранее доставленную на крышу здания (раздел
4.1 настоящей инструкции), одной или двумя ветвями четырехветьевого
стропа крана за приспособление для строповки кабины (см. рис. 12).
12.1.5. Краном поднять кабину на 200-300 мм от уровня перекрытия и
демонтировать используемую при транспортировании подставку,
установленную на заводе-изготовителе.
12.1.6. Постепенно опуская кабину в шахту, завести нижние, а затем
верхние башмаки кабины в направляющие и установить кабину на балки или
подставки, установленные согласно п. 12.1.3 настоящей инструкции (рис.
47 и 48), посадить кабину на ловители.
12.1.7. Расстропить кабину и снять приспособления для ее строповки.
Таблица 14
Номера балок для установки кабин различной массы
|
Наименование лифта |
Грузоподъемность, кг |
Масса кабины, кг |
Расстояние между опорами, мм |
Номер балки |
|
|
швеллер по ГОСТ 8240-72 |
двутавр по ГОСТ 8239-72 |
||||
|
Пассажирский (противовес сзади) |
350 |
650-845 |
1550 |
2 ´ 10 |
2 ´ 10 |
|
То же, противовес сбоку |
320 |
650-845 |
1700 |
2 ´ 10 |
2 ´ 10 |
|
Грузопассажирский (вход с узкой стороны) |
500 |
1175-1185 |
1850 |
2 ´ 10 |
2 ´ 10 |
|
То же, вход с широкой стороны |
500 |
1175-1185 |
2650 |
2 ´ 12 |
2 ´ 10 |
|
Пассажирский (противовес сзади) |
500 |
1000-1200 |
1750 |
2 ´ 10 |
2 ´ 10 |
|
То же, противовес сбоку |
500 |
1000-1200 |
1900 |
2 ´ 10 |
2 ´ 10 |
|
То же, противовес сзади |
1000 |
1700-1820 |
2250 |
2 ´ 14 |
2 ´ 12 |
|
То же, противовес сбоку |
1000 |
1700-1820 |
2300 |
2 ´ 14 |
2 ´ 12 |
|
Больничный (противовес сбоку) |
500 |
1000 |
1950 |
2 ´ 12 |
2 ´ 10 |
|
Грузовой |
500 |
700-1100 |
1600 |
2 ´ 10 |
2 ´ 10 |
|
|
|
|
1700 |
2 ´ 10 |
2 ´ 10 |
|
« |
500 |
700-1100 |
2100 |
2 ´ 12 |
2 ´ 10 |
|
|
|
|
2200 |
2 ´ 12 |
2 ´ 10 |
|
« |
1000 |
1171-1500 |
2100 |
2 ´ 14 |
2 ´ 12 |
|
|
|
|
2200 |
2 ´ 14 |
2 ´ 12 |
|
« |
1000 |
1171-1500 |
2600 |
2 ´ 14 |
2 ´ 12 |
|
|
|
|
2700 |
2 ´ 14 |
2 ´ 12 |
|
« |
2000 |
1424-1612 |
2750 |
2 ´ 14 |
2 ´ 12 |
|
|
|
|
2700 |
2 ´ 14 |
2 ´ 12 |
|
« |
3200 |
1880-2262 |
2750 |
2 ´ 16 |
2 ´ 14 |
|
|
|
|
3200 |
2 ´ 16 |
2 ´ 14 |
|
« |
3200 |
1880-2262 |
3250 |
2 ´ 16 |
2 ´ 14 |
|
|
|
|
3700 |
2 ´ 16 |
2 ´ 14 |
|
« |
5000 |
3245-3282 |
3750 |
2 ´ 16 |
2 ´ 14 |
|
|
|
|
4200 |
2 ´ 18 |
2 ´ 16 |
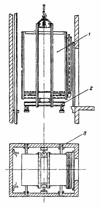
Допускается вместо балок применять специальные подставки по две штуки под одну кабину с креплением их к направляющим с помощью прижимов (рис. 47).

Рис. 47. Установка опоры под кабину лифта:
1 - кронштейн; 2 - прижим; 3 - болт, гайка, шайба
12.1.8. При производстве механомонтажных работ находиться в кабине или на ее крыше, а также под кабиной разрешается при выполнении следующих требований: башмаки кабины заведены в направляющие, кабина посажена на ловители, кабина установлена на упоры или кабина и полностью загруженный противовес подвешены на тяговые (лифтовые) канаты, а последние струбциной прикреплены к канатоведущему шкиву, отключено ВУ (если лифт подключен к питающей сети).

Рис. 48. Установка кабины на балки:
1 - кабина; 2 - поперечная балка; 3 - продольная балка
Содержание
- 1. Инструкция по монтажу лифтов ВСН 210-80/ММСС СССР
- 2. ОРГАНИЗАЦИОННО-ТЕХНИЧЕСКИЕ МЕРОПРИЯТИЯ ПО МОНТАЖУ ЛИФТОВ
- 3. ПРОВЕРКА ГОТОВНОСТИ ОБЪЕКТА К МОНТАЖУ ЛИФТОВ
- 4. ИНСТРУМЕНТ И ОСНАСТКА БРИГАДЫ ПО МОНТАЖУ ЛИФТОВ
- 5. ОЗНАКОМЛЕНИЕ С ТЕХНИЧЕСКОЙ ДОКУМЕНТАЦИЕЙ ПО МОНТАЖУ ЛИФТА
- 6. ПРИЕМКА ЛИФТОВОГО ОБОРУДОВАНИЯ В МОНТАЖ И ЕГО РАСКОНСЕРВАЦИЯ
- 7. Последовательность выполнения лифтовых монтажных работ
- 8. УКРУПНЕНИЕ ОБОРУДОВАНИЯ ЛИФТОВ НА ПРОИЗВОДСТВЕННО-КОМПЛЕКТОВОЧНОЙ БАЗЕ
- 9. ДОСТАВКА ЛИФТОВОГО ОБОРУДОВАНИЯ К МЕСТУ МОНТАЖА С ПОМОЩЬЮ МОНТАЖНОЙЛЕБЕДКИ
- 10. Определение координат установки оборудования в шахте лифта
- 11. Установка кронштейнов крепления направляющих кабины и противовеса лифта
- 12. МОНТАЖ НАПРАВЛЯЮЩИХ КАБИНЫ ЛИФТА КРАНОМ
- 13. МОНТАЖ НАПРАВЛЯЮЩИХ КАБИНЫ ЛИФТА ЛЕБЕДКОЙ
- 14. МОНТАЖ ДВЕРЕЙ ШАХТЫ ПАССАЖИРСКИХ ЛИФТОВ
- 15. МОНТАЖ ДВЕРЕЙ ШАХТЫ ГРУЗОВЫХ ЛИФТОВ
- 16. Монтаж обрамлений дверных проемов лифта
- 17. Монтаж оборудования лифта в приямке
- 18. МОНТАЖ КАБИН ЛИФТОВ В СОБРАННОМ ВИДЕ
- 19. МОНТАЖ КАБИН ПАССАЖИРСКИХ ЛИФТОВ В РАЗОБРАННОМ ВИДЕ
- 20. МОНТАЖ КАБИН ГРУЗОВЫХ ЛИФТОВ
- 21. МОНТАЖ ЛИФТОВОЙ ЛЕБЕДКИ НА ПЕРЕКРЫТИИ ШАХТЫ
- 22. МОНТАЖ ОТВОДНЫХ БЛОКОВ И ЛЕБЕДКИ ЛИФТА, УСТАНАВЛИВАЕМЫХ НА ПОДЛЕБЕДОЧНЫХБАЛКАХ
- 23. МОНТАЖ ЛИФТОВОЙ ЛЕБЕДКИ И ОТВОДНЫХ БЛОКОВ НА ФУНДАМЕНТНОЙ ПЛИТЕ
- 24. МОНТАЖ ОТВОДНЫХ БЛОКОВ ЛИФТА
- 25. МОНТАЖ ПАНЕЛИ УПРАВЛЕНИЯ ЛИФТА
- 26. УСТАНОВКА ВВОДНОГО УСТРОЙСТВА ЛИФТА
- 27. УСТАНОВКА ТРАНСФОРМАТОРОВ ЛИФТА
- 28. УСТАНОВКА ЖЕСТКОЙ И БАЛАНСИРНОЙ ПОДВЕСОК ЛИФТА
- 29. МОНТАЖ ТЯГОВЫХ КАНАТОВ ПАССАЖИРСКИХ ЛИФТОВ
- 30. МОНТАЖ ТЯГОВЫХ КАНАТОВ ГРУЗОВЫХ И БОЛЬНИЧНЫХ ЛИФТОВ
- 31. МОНТАЖ ТЯГОВЫХ КАНАТОВ ГРУЗОВЫХ ВЫЖИМНЫХ ЛИФТОВ
- 32. Монтаж лифтового каната ограничителя скорости
- 33. Монтаж лифтовых уравновешивающих цепей и компенсирующих канатов
- 34. МОНТАЖ ТРУБ ЭЛЕКТРОРАЗВОДОК ПО ШАХТЕ ЛИФТА
- 35. МОНТАЖ ТРУБ ЭЛЕКТРОРАЗВОДКИ ПО МАШИННОМУ ПОМЕЩЕНИЮ ЛИФТА
- 36. МОНТАЖ ЭЛЕКТРОАППАРАТОВ ЛИФТА
- 37. УСТРОЙСТВО ЗАЗЕМЛЕНИЯ ЛИФТОВОГО ОБОРУДОВАНИЯ
- 38. МОНТАЖ ЖГУТОВ ЛИФТОВЫХ ПРОВОДОВ ПРИ ПРОКЛАДКЕ ИХ БЕЗ ТРУБ
- 39. ПРОКЛАДКА И ПОДСОЕДИНЕНИЕ ЛИФТОВОЙ ЭЛЕКТРОПРОВОДКИ ПО ШАХТЕ И МАШИННОМУПОМЕЩЕНИЮ
- 40. МОНТАЖ ПОДВЕСНОГО КАБЕЛЯ ЛИФТА
- 41. ЗАМЕР СОПРОТИВЛЕНИЯ ИЗОЛЯЦИИ ЛИФТА
- 42. Строительно-отделочные работы в шахте лифта
- 43. Опробование лифта после монтажа
- 44. Регулировка оборудования лифта
- 45. Наладочные работы после выполнения механической регулировки всех узловоборудования лифта
- 46. Техника безопасности при монтаже лифтов
- 47. АКТ обследования строительной части лифтовой установки под монтаж
- 48. ПЕРЕЧЕНЬ сопроводительной документации при монтаже лифта
- 49. ПЕРЕЧЕНЬ специального инструмента и приспособлений для пассажирских игрузовых лифтов
- 50. ПРИМЕРНЫЙ ПЕРЕЧЕНЬ РАБОТ, ВЫПОЛНЯЕМЫХ ПО ШАХТЕ И МАШИННОМУ ПОМЕЩЕНИЮЛИФТА
- 51. ТАБЛИЦА измеряемых сопряжений (расстояний, зазоров) между элементамиоборудования лифта
- 52. АКТ технической готовности и приемки лифта
- 53. СОДЕРЖАНИЕ - ИНСТРУКЦИЯ ПО МОНТАЖУ ЛИФТОВ ВСН 210-80

от 1030.00 руб./шт.

от 224.00 руб./шт.

от 195.00 руб./шт.

от 195.00 руб./шт.

от 402.00 руб./шт.

от 402.00 руб./шт.

от 288.00 руб./шт.

от 288.00 руб./шт.

от 288.00 руб./шт.

от 56.00 руб./шт.

от 224.00 руб./шт.

от 138.00 руб./шт.





