2.3.
ПРОВЕРКА ГОТОВНОСТИ ОБЪЕКТА К МОНТАЖУ ЛИФТОВ
2.3.1. Готовность строительной части лифтовой установки под монтаж лифтового оборудования определяет представитель монтажной организации (как правило, работник ПСГ управления), при этом он проверяет:
наличие освещения в шахте. Перед началом монтажных работ генподрядчик должен выполнить временное освещение по шахте лифта лампами накаливания напряжением не более 42 В и мощностью не менее 25 Вт (освещенность не менее 50 Лк). Лампы следует размещать вверху каждого настила в местах, не мешающих выполнению монтажных работ (рис. 1).

Рис. 1. Установка подмостей и навеска гирлянды для временного освещения лифтовой шахты:
1 - настил; 2 - деревянный брус; 3 - лампа накаливания; 4 - гирлянда; 5 - лифтовая шахта; 6 - выключатель
Гирлянда временного освещения лифтовой шахты должна иметь выключатель, который прикрепляют к стене на первой остановке перед входом в шахту лифта (временное освещение машинного помещения выполняет генподрядчик после его готовности);
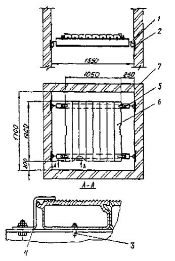
правильность установки подмостей. Подмости должны быть установлены в соответствии с заданием, выданным строителям монтажной организацией (форму задания см. в приложении 2). К заданию на изготовление подмостей должен быть приложен чертеж настила, а также указаны места их установки в лифтовой шахте (привязка подмостей по высоте). Бруски подмостей, как правило, устанавливают в ниши, заранее выполненные строителями согласно АТ-6 (рис. 2, а). При отсутствии ниш допускается брусья устанавливать на ригели (рис. 2, б) или опорные уголки с приваркой последних к закладным деталям (рис. 2, в) При отсутствии ригелей, ниш и закладных деталей в шахтах грузовых лифтов допускается устанавливать стоечные леса (рис. 3). В шахтах лифтов из объемных блоков подмости допускается устанавливать на специальные закладные детали (рис. 4).

Рис. 2. Крепление инвентарных подмостей:
а - в нишах; б - к металлическим ригелям; в - к закладным деталям; 1 - брус (балка); 2 - настил; 3 - стена шахты;4 - ограничивающий брусок, 5 - скоба, шайба, гайка; 6 - металлический ригель; 7 - закладная деталь; 8 - опорный уголок

Рис. 3. Установка стоечных лесов в лифтовой шахте:
1 - стойка; 2 - поперечный брусок; 3 - продольный брусок; 4 - доски настила; 5 - люк; 6 - лестница
Подмости, как правило, инвентарные, должны быть изготовлены из пиломатериалов не ниже второго сорта, иметь ровную поверхность с зазорами между досками не более 5 мм, прочность настилов должна быть рассчитана на равномерную распределенную нагрузку не менее 250 кг/м2 и сосредоточенную - 1300 Н.
При высоте этажа 3,6 м и более необходимо устанавливать дополнительные подмости с таким расчетом, чтобы расстояние между щитами по высоте было не менее 1,8 и не более 3 м.

Рис. 4. Установка инвентарных подмостей в тюбинге:
1 - тюбинг; 2 - ригель подмостей; 3 - щит; 4 - закладная деталь; 5 - уголок
При монтаже лифтового оборудования допускается применять инвентарные металлические подмости, изготовленные из специального коробчатообразного алюминиевого профиля. Пример установки инвентарных металлических подмостей см. на рис. 5;
ограждение дверных проемов. Все дверные, а также временные (монтажные) проемы должны иметь ограждения (за исключением тюбингов, где проемы закрыты дверями шахты высотой не менее 1,1 м; надежно крепиться к стенам дверного проема и внизу иметь отбортовочную доску высотой не менее 150 мм (пример установки инвентарного ограждения дверного проема размерами 770 ´ 2050 мм показан на рис. 6). Допускается дверные проемы ограждать деревянными щитами (рис. 7). Щиты необходимо надежно крепить к поперечным балкам (перилам), последние должны выдерживать сосредоточенную нагрузку 700 Н. Для ограждений дверных проемов допускается применять металлическую сетку с поручнем. Элементы конструкций ограждений должны иметь массу не более 20 кг;

Рис. 5. Установка инвентарных металлических подмостей:
1 - выдвижной штырь; 2 - закладная деталь с опорным уголком; 3 - шахта лифта; 4 - подставка; 5 - балка; 6 -ограничивающий штырь; 7 - прижимная скоба
техническую документацию лифта. Комплектность технической документации проверяют по комплектовочной ведомости завода-изготовителя, которая хранится, как правило, в ящике № 1.
Примечание. По согласованию с заводом - изготовителем лифтов техническая документация может быть выслана заказчику по почте.
Техническая документация должна поступать на объект монтажа в полном объеме согласно приложению 3, если не было дополнительных согласований завода-изготовителя с монтажной и эксплуатирующей организациями.
При поставке по одному адресу группы лифтов одного назначения, типа и исполнения сопроводительная документация направляется в одном экземпляре на всю группу лифтов, за исключением паспортов и установочных (монтажных) чертежей.
Представитель монтажной организации должен получить от заказчика следующую техническую документацию: установочный чертеж лифта с общими видами основных узлов, принципиальную и монтажные электрические схемы. Представитель монтажной организации должен проверить соответствие технической документации данному объекту;

Рис. 6. Установка инвентарного ограждения дверного проема:
1 - стойка; 2 - перила; 3 - отбортовочная доска; 4 - стена шахты
размеры шахты (в плане) и вертикальность стен по исполнительной схеме, выданной генподрядчиком (см. приложение 1, ГОСТ 22845-77). Строительная часть шахты должна соответствовать требованиям «Альбома заданий на проектирование строительной части лифтовых установок» (АТ-6). Стены шахты должны быть вертикальными, без выступов и впадин (за исключением закладных деталей). Отклонение стен шахты от вертикальной плоскости не должно превышать 15 мм при высоте подъема кабины до 45 м, 20 мм при высоте подъема от 45 до 75 м и 30 мм при высоте подъема от 75 до 150 м. При этом размеры шахты в плане должны соответствовать размерам, указанным на установочном чертеже; допустимые отклонения не должны превышать 30 мм на сторону. Допустимая разность длин диагоналей шахты в плане не должна превышать 25 мм.

Рис. 7. Установка инвентарного деревянного ограждения дверного проема:
1 - щит; 2 - неподвижная скоба; 3 - замок; 4 - подвижная скоба; 5 - стена шахты
При установке нескольких лифтов в одной шахте, если проектом не предусмотрено сплошное ограждение, шахта должна иметь разделяющие ригели шириной не более 100 мм и сетчатые ограждения (сетка должна быть выполнена из проволоки диаметром 1,2 мм, сторона квадрата не более 20 мм). Разделяющие ригели должны лежать в одной вертикальной плоскости; отклонение от вертикальной плоскости не должно превышать 20 мм по всей высоте шахты;
закладные детали для крепления элементов оборудования в шахте лифта. Закладные детали должны быть выполнены в соответствии с проектом. Закладные детали для крепления кронштейнов направляющих кабины и противовеса могут быть смещены в вертикальном направлении (вверх или вниз) от проектного положения не более чем на 300 мм. Допустимое отклонение закладных деталей для крепления кронштейнов направляющих кабины и противовеса в горизонтальном направлении (вправо или влево) не должно превышать 10 мм; закладных деталей для крепления другого оборудования лифта (в любом направлении) - 10 мм. Толщина закладных деталей для крепления кронштейнов, дверей шахты и буферов должна быть не менее 8 мм;
приямок шахты. Глубина приямка без заливки чистого пола должна соответствовать размеру, указанному на установочном (монтажном) чертеже. Приямок должен быть защищен от попадания в него грунтовых и сточных вод. Приямки всех лифтов (за исключением грузовых малых) должны быть оборудованы скобами. Оси скоб должны совпадать с осями дверного проема и выступать от стен шахты на 100 мм для пассажирских лифтов и на 135 мм - для грузовых. Количество скоб, устанавливаемых в приямках лифтовых шахт, а также расстояния между ними приведены в табл. 1. В приямках лифтовых шахт должны быть установлены тумбы под буферы кабины и противовеса. Количество тумб и их размеры приведены в табл. 2;
расположение дверных проемов. Размеры дверных проемов (высота и ширина) должны соответствовать размерам, указанным на установочном (монтажном) чертеже. На стенах шахт в непосредственной близости от дверных проемов, а при проходной кабине и с другой стороны должны быть нанесены отметки чистых полов остановок. Размеры и расположение отверстий для установки вызывных аппаратов, световых указателей, табло и ключевин замков аварийного открывания дверей должны соответствовать размерам, указанным на установочном чертеже. При расстоянии между остановками более 15 м в шахте лифта должны быть предусмотрены временные монтажные проемы размерами 800 ´ 1500 мм с шагом не более 15 м;
машинное помещение. Размеры машинного помещения, привязка отверстий в полу машинного помещения и монтажного проема и их размеры, а также размеры дверного проема и тумб с закладными деталями должны соответствовать размерам, указанным на установочном чертеже.
Таблица 1
Размещение скоб в приямках лифтовых шахт
|
Лифт |
Грузоподъемность, кг |
Скорость м/с |
Глубина приямка, мм |
Количество скоб |
Расстояние от нижней остановки кабины до верхней скобы, мм |
Расстояние между скобами, мм |
|
Пассажирский |
320 |
0,5 |
1300 |
1 |
700 |
- |
|
« |
320 |
0,71 |
1300 |
1 |
700 |
- |
|
« |
320 |
1,0 |
1400 |
1 |
700 |
- |
|
« |
320 |
1,4 |
1500 |
1 |
700 |
- |
|
« |
500 |
1,0 |
1400 |
1 |
700 |
- |
|
« |
500 |
1,4 |
1500 |
3 |
400 |
400 |
|
« |
1000 |
1,0 |
1500 |
1 |
700 |
- |
|
« |
1000 |
1,4 |
2000 |
4 |
400 |
400 |
|
Грузопассажирский |
500 |
1,0 |
1400 |
1 |
700 |
- |
|
« |
500 |
1,4 |
1500 |
3 |
400 |
400 |
|
Больничный |
500 |
0,5 |
1300 |
1 |
700 |
- |
|
Грузовой выжимной |
500 |
0,5 |
1500 |
2 |
500 |
500 |
|
« |
1000 |
0,5 |
1600 |
2 |
500 |
500 |
|
« |
3200 |
0,5 |
1800 |
2 |
500 |
500 |
|
Грузовой выжимной с монорельсом |
2000 3200 |
0,5 |
1300 |
1 |
650 |
- |
|
Грузовой тротуарный |
500 |
0,18 |
1600 |
2 |
450 |
500 |
|
Грузовой |
500, 1000, 2000, 3200, 5000 |
0,5 |
1300 |
1 |
650 |
- |
Примечание. При проходной кабине количество скоб увеличивается вдвое.
Таблица 2
Количество тумб, устанавливаемых в приямках лифтовых шахт, и их размеры
|
Лифт |
Грузоподъемность, кг |
Скорость, м/с |
Глубина приямка, мм |
Количество тумб, шт. |
Расстояние от отметки пола нижней остановки, мм |
Габариты тумбы, мм |
Расстояние между тумбами по их осям, мм |
|
Пассажирский |
320 |
0,5 |
1300 |
1 |
705 |
250 ´ 250 ´595 |
- |
|
» |
320 |
0,71 |
1300 |
2 |
780 |
250 ´ 250 ´520 |
540 |
|
» |
320 |
1 |
1400 |
2 |
975 |
250 ´ 250 ´425 |
540 |
|
» |
500 |
1 |
1400 |
2 |
980 |
250 ´ 250 ´420 |
500 |
|
Грузопассажирский (кабина 1000 ´ 2200 ´2100) |
500 |
1 |
1400 |
1 |
980 |
250 ´ 700 ´420 |
- |
|
То же (кабина 2200 ´1130 ´ 2100) |
500 |
1 |
1400 |
3 |
870 |
250 ´ 250 ´530 |
750 |
|
Пассажирский |
1000 |
1 |
1500 |
2 |
1150 |
410 ´ 250 ´350 |
1000 |
|
Больничный |
500 |
0,5 |
1300 |
2 |
745 |
250 ´ 250 ´555 |
500 |
|
Грузовой (кабина 1000´ 1500 ´ 2000) |
500 |
0,5 |
1300 min |
2 |
678 min |
200 ´ 200 ´622 |
820 |
|
То же (кабина 1500 ´2000 ´ 2000) |
500 |
0,5 |
1300 min |
2 |
678 min |
200 ´ 200 ´622 |
1320 |
|
Грузовой |
1000 |
0,5 |
1300 min |
1 |
741 min |
300 ´ 450 ´559 |
- |
|
То же (кабина 2000 ´2500 ´ 2200) |
2000 |
0,5 |
1300 min |
2 |
741 min |
400 ´ 250 ´559 |
800 |
|
Грузовой с монорельсом |
2000 |
0,5 |
1300 min |
2 |
742 min |
400 ´ 250 ´558 |
800 |
|
Грузовой с монорельсом |
1000 |
0,5 |
1300 min |
1 |
741 min |
300 ´ 450 ´559 |
- |
|
Грузовой |
5000 |
0,5 |
1300 min |
2 |
560 min |
300 ´ 300 ´740 |
2100 |
|
» |
3200 |
0,5 |
1300 min |
2 |
788 min |
450 ´ 300 ´512 |
800 |
|
Грузовой выжимной |
1000 |
0,5 |
1600 min |
2 |
717 |
200 ´ 200 ´883 |
1500 |
|
То же (кабина 1500 ´2000 ´ 2000) |
500 |
0,5 |
1500 min |
0 |
680 min |
200 ´ 200 ´820 |
1150 |
|
Грузовой выжимной (кабина 1000 ´ 1500 ´2000) |
500 |
0,5 |
1500 min |
2 |
680 min |
200 ´ 200 ´820 |
700 |
|
Грузовой с монорельсом |
3200 |
0,5 |
1300 min |
2 |
788 min |
450 ´ 300 ´512 |
800 |
|
Грузовой выжимной |
2000 |
0,5 |
1700 |
2 |
742 |
400 ´ 2000´ 958 |
1500 |
|
» |
3200 |
0,5 |
1800 |
0 |
803 |
450 ´ 300 ´997 |
1500 |
Машинное помещение должно иметь ввод электроэнергии и заземления в местах, указанных на установочном чертеже, а также закладную деталь с петлей или монорельс для подъема оборудования. Дверь в машинное помещение должна быть обита листовым железом по асбесту, иметь вентиляционную решетку и врезной замок. Вокруг отверстий в полу машинного помещения должны быть устроены бортики высотой не менее 75 мм над уровнем пола (проверку выполнения генподрядчиком работ в машинном помещении допускается производить по мере их готовности согласно графику совмещенных строительно-монтажных работ);
помещение для мастерской. Помещение для мастерской выделяет генподрядчик в непосредственной близости от места установки лифтов. Мастерская должна быть оборудована отоплением, освещением, стеллажами, столом и табуретками и иметь дверь, запирающуюся на замок.
При наличии у монтажной организации своих передвижных мастерских (рис. 8) место их установки должно быть согласовано с генподрядчиком. Перед эксплуатацией следует проверить соответствие мастерской техническим условиям. Подсоединение мастерской к сети электроснабжения производит обслуживающий персонал генподрядчика. Ответственным лицом за противопожарную безопасность и электробезопасность должен быть назначен представитель монтажной организации;
условия складирования и хранения лифтового оборудования. К началу монтажа лифтовое оборудование должно быть складировано или в зоне действия строительного башенного крана (при производстве монтажа лифтов укрупненными узлами), или в непосредственной близости от входа в здание, где устанавливается лифт (при отсутствии строительного крана). Площадка для складирования должна быть ровной и чистой. Независимо от наличия упаковки под лифтовое оборудование должны быть подложены деревянные подкладки, чтобы исключить его сползание или опрокидывание, а также, чтобы обеспечить свободный доступ к отдельным сборочным единицам (местам).

Рис. 8. Передвижная механизированная мастерская для работ по монтажу лифтов:
1 - кузов; 2 - стеллаж; 3 - слесарный верстак; 4 - шасси; 5 - слесарные тиски, 6 - заточный станок; 7 - стойка ИВ - 9202; 8 - электрическая печь; 9 - трансформаторы
Механические узлы лифтов с установленным на них электрооборудованием (кабины, двери шахты, ограничители скорости, масляные буферы и другие узлы), а также стальные канаты следует хранить в закрытых помещениях. Механические узлы лифтов, на которых не установлено электрооборудование (направляющие кабины и противовеса, каркасы и грузы противовеса, опорные балки, трубы электроразводок и другие узлы) хранят под навесами или в помещениях.
Содержание
- 1. Инструкция по монтажу лифтов ВСН 210-80/ММСС СССР
- 2. ОРГАНИЗАЦИОННО-ТЕХНИЧЕСКИЕ МЕРОПРИЯТИЯ ПО МОНТАЖУ ЛИФТОВ
- 3. ПРОВЕРКА ГОТОВНОСТИ ОБЪЕКТА К МОНТАЖУ ЛИФТОВ
- 4. ИНСТРУМЕНТ И ОСНАСТКА БРИГАДЫ ПО МОНТАЖУ ЛИФТОВ
- 5. ОЗНАКОМЛЕНИЕ С ТЕХНИЧЕСКОЙ ДОКУМЕНТАЦИЕЙ ПО МОНТАЖУ ЛИФТА
- 6. ПРИЕМКА ЛИФТОВОГО ОБОРУДОВАНИЯ В МОНТАЖ И ЕГО РАСКОНСЕРВАЦИЯ
- 7. Последовательность выполнения лифтовых монтажных работ
- 8. УКРУПНЕНИЕ ОБОРУДОВАНИЯ ЛИФТОВ НА ПРОИЗВОДСТВЕННО-КОМПЛЕКТОВОЧНОЙ БАЗЕ
- 9. ДОСТАВКА ЛИФТОВОГО ОБОРУДОВАНИЯ К МЕСТУ МОНТАЖА С ПОМОЩЬЮ МОНТАЖНОЙЛЕБЕДКИ
- 10. Определение координат установки оборудования в шахте лифта
- 11. Установка кронштейнов крепления направляющих кабины и противовеса лифта
- 12. МОНТАЖ НАПРАВЛЯЮЩИХ КАБИНЫ ЛИФТА КРАНОМ
- 13. МОНТАЖ НАПРАВЛЯЮЩИХ КАБИНЫ ЛИФТА ЛЕБЕДКОЙ
- 14. МОНТАЖ ДВЕРЕЙ ШАХТЫ ПАССАЖИРСКИХ ЛИФТОВ
- 15. МОНТАЖ ДВЕРЕЙ ШАХТЫ ГРУЗОВЫХ ЛИФТОВ
- 16. Монтаж обрамлений дверных проемов лифта
- 17. Монтаж оборудования лифта в приямке
- 18. МОНТАЖ КАБИН ЛИФТОВ В СОБРАННОМ ВИДЕ
- 19. МОНТАЖ КАБИН ПАССАЖИРСКИХ ЛИФТОВ В РАЗОБРАННОМ ВИДЕ
- 20. МОНТАЖ КАБИН ГРУЗОВЫХ ЛИФТОВ
- 21. МОНТАЖ ЛИФТОВОЙ ЛЕБЕДКИ НА ПЕРЕКРЫТИИ ШАХТЫ
- 22. МОНТАЖ ОТВОДНЫХ БЛОКОВ И ЛЕБЕДКИ ЛИФТА, УСТАНАВЛИВАЕМЫХ НА ПОДЛЕБЕДОЧНЫХБАЛКАХ
- 23. МОНТАЖ ЛИФТОВОЙ ЛЕБЕДКИ И ОТВОДНЫХ БЛОКОВ НА ФУНДАМЕНТНОЙ ПЛИТЕ
- 24. МОНТАЖ ОТВОДНЫХ БЛОКОВ ЛИФТА
- 25. МОНТАЖ ПАНЕЛИ УПРАВЛЕНИЯ ЛИФТА
- 26. УСТАНОВКА ВВОДНОГО УСТРОЙСТВА ЛИФТА
- 27. УСТАНОВКА ТРАНСФОРМАТОРОВ ЛИФТА
- 28. УСТАНОВКА ЖЕСТКОЙ И БАЛАНСИРНОЙ ПОДВЕСОК ЛИФТА
- 29. МОНТАЖ ТЯГОВЫХ КАНАТОВ ПАССАЖИРСКИХ ЛИФТОВ
- 30. МОНТАЖ ТЯГОВЫХ КАНАТОВ ГРУЗОВЫХ И БОЛЬНИЧНЫХ ЛИФТОВ
- 31. МОНТАЖ ТЯГОВЫХ КАНАТОВ ГРУЗОВЫХ ВЫЖИМНЫХ ЛИФТОВ
- 32. Монтаж лифтового каната ограничителя скорости
- 33. Монтаж лифтовых уравновешивающих цепей и компенсирующих канатов
- 34. МОНТАЖ ТРУБ ЭЛЕКТРОРАЗВОДОК ПО ШАХТЕ ЛИФТА
- 35. МОНТАЖ ТРУБ ЭЛЕКТРОРАЗВОДКИ ПО МАШИННОМУ ПОМЕЩЕНИЮ ЛИФТА
- 36. МОНТАЖ ЭЛЕКТРОАППАРАТОВ ЛИФТА
- 37. УСТРОЙСТВО ЗАЗЕМЛЕНИЯ ЛИФТОВОГО ОБОРУДОВАНИЯ
- 38. МОНТАЖ ЖГУТОВ ЛИФТОВЫХ ПРОВОДОВ ПРИ ПРОКЛАДКЕ ИХ БЕЗ ТРУБ
- 39. ПРОКЛАДКА И ПОДСОЕДИНЕНИЕ ЛИФТОВОЙ ЭЛЕКТРОПРОВОДКИ ПО ШАХТЕ И МАШИННОМУПОМЕЩЕНИЮ
- 40. МОНТАЖ ПОДВЕСНОГО КАБЕЛЯ ЛИФТА
- 41. ЗАМЕР СОПРОТИВЛЕНИЯ ИЗОЛЯЦИИ ЛИФТА
- 42. Строительно-отделочные работы в шахте лифта
- 43. Опробование лифта после монтажа
- 44. Регулировка оборудования лифта
- 45. Наладочные работы после выполнения механической регулировки всех узловоборудования лифта
- 46. Техника безопасности при монтаже лифтов
- 47. АКТ обследования строительной части лифтовой установки под монтаж
- 48. ПЕРЕЧЕНЬ сопроводительной документации при монтаже лифта
- 49. ПЕРЕЧЕНЬ специального инструмента и приспособлений для пассажирских игрузовых лифтов
- 50. ПРИМЕРНЫЙ ПЕРЕЧЕНЬ РАБОТ, ВЫПОЛНЯЕМЫХ ПО ШАХТЕ И МАШИННОМУ ПОМЕЩЕНИЮЛИФТА
- 51. ТАБЛИЦА измеряемых сопряжений (расстояний, зазоров) между элементамиоборудования лифта
- 52. АКТ технической готовности и приемки лифта
- 53. СОДЕРЖАНИЕ - ИНСТРУКЦИЯ ПО МОНТАЖУ ЛИФТОВ ВСН 210-80

от 890.00 руб./шт.

от 185.00 руб./шт.

от 132.00 руб./шт.

от 103.00 руб./шт.

от 391.00 руб./шт.

от 17 518.00 руб./шт.

от 17 518.00 руб./шт.

от 17 518.00 руб./шт.

от 0.00 руб./шт.

от 2559.00 руб./шт.

от 1578.00 руб./шт.

от 890.00 руб./шт.





