9.2.
Конструкция и работа механизма привода автоматических дверей гидравлических лифтов
Автоматический привод дверей повышает комфортность условий транспортировки пассажиров. Его применение особенно целесообразно в конструкции лифтов с повышенными скоростями движения, где потери времени на открытие и закрытие створок дверей заметно влияют на производительность работы лифта.
Передвижение створок шахтных дверей, как правило, обеспечивается приводом дверей кабины с помощью специального устройства, называемого отводкой.
В мировой практике имеется опыт применения индивидуального привода шахтных и кабинных дверей, но такое решение оказалось не жизнеспособным.
Конструкция дверей шахты и кабины в значительной мере аналогична, с некоторыми особенностями, обусловленными их назначением.
Двери шахты призваны исключить возможность попадания людей в шахту при отсутствии кабины на этаже. В связи с этим, они оборудуются соответствующими блокировочными устройствами и замками.
Внешний вид двухстворчатой распашной двери больничного лифта приведен на рис.9.5.
Особенностью шахтных автоматических раздвижных дверей является наличие системы автоматического закрытия створок при аварийном уходе кабины с этажа при открытых дверях.
Применяются два основных решения: использование наклонных линеек подвески створок шахтных дверей или замыкающего створки грузового механизма. В последнем случае створки шахтных дверей перемещаются по горизонтальным направляющим линейкам посредством синхронизирующего троса и двигающегося в вертикальном направлении груза. Аналогичный принцип применяется в конструкции полуавтоматических раздвижных дверей.
Конструкция шахтной двери с наклонными направляющими линейками и приводом от дверей кабины лифта представлена на рис. 9.6.

Рис.9.5 Распашная шахтная дверь больничного лифта

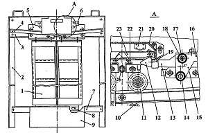
Рис.9.6 Схема шахтной двери с наклонными линейками подвески кареток: 1 - створка; 2 -стояк портала; 3 - балка; 4 - направляющая наклонная линейка; 5 - каретка створки; 6 - замок и контакт контроля закрытия; 7 - порог; 8 - вкладыш башмачка створки; 9 - фартук; 10 - контрролик; И - опорный ролик; 12-зуб защелки замка; 13 - защелка; 14, 18 - ролики; 15 - рычаг; 16-груз противовеса защелки; 17 - ось рычага; 19 - гнездо защелки; 20 - корпус блока контроля закрытия; 21 - выключатель; 22 - упор; 23 - коромысло привода контакта.
Шахтная дверь монтируется на металлоконструкции
рамы портала, включающей верхнюю балку 3, стойки 2 и балку порога 7.
Рама портала закрепляется на внутренней поверхности стены шахты.
На балке 3 установлены наклонные направляющие линейки 4, по которым
перемещаются каретки 5 со створками 1.
Каретки оборудованы опорными роликами 11 с ребордами, контрроликами 10,
которые гарантируют надежную кинематическую связь с линейками, и вместе
с вкладышами башмачков 8 обеспечивают движение створок в вертикальной
плоскости. Регулировка зазора 0,1 - 0,15 мм между контрроликом и
линейкой производится поворотом эксцентричной оси контрролика.
Угол наклона линеек выбирается так, чтобы параллельная линейке
составляющая силы тяжести створки гарантировала её закрытие в случае,
когда, по аварийной причине, кабина ушла с открытыми дверями.
Опорные ролики имеют полукруглую форму обода и устанавливаются на
подшипниках качения. Полукруглая форма обода опорных роликов и башмачки
створок дверей обеспечивают их центрирование в вертикальной плоскости.
Раздвижные створки шахтных дверей представляют собой сварную конструкцию
из гнутого стального профиля, облицованную декоративным материалом или
покрытую огнестойким лаком со стороны этажной площадки.
В пожаростойком исполнении коробчатая конструкция створок заполняется
негорючим материалом.
Проем шахтной двери со стороны этажной площадки
имеет декоративное металлическое обрамление.
Шахтные двери оборудованы замками с контактами 21, контролирующими
закрытие створок.
На рис.9.6 (вид А) створки показаны в закрытом состоянии, и замки (12,
19) исключают возможность их открытия, если кабина находится не на
этажной площадке.
Левая часть суммирующего коромысла 23 опирается на упор 22 левой
створки, тогда как его правая часть максимально поднята вверх зубом
защелки 12 под действием силы тяжести груза 16 рычага 15. В этой
ситуации контакт 21 замкнут.
При остановке кабины на этажной площадке включается привод дверей кабины
и соответствующая отводка, воздействуя на ролик 14, повернет рычаг 15
против часовой стрелки.
Зуб защелки 12 выйдет из гнезда детали 19, обеспечивая свободу
перемещения створки шахтной двери под действием отводки двери кабины на
ролик 18. Контакт 21 перейдет в разомкнутое состояние, так как коромысло
23 опустится вниз. Одновременно с правой створкой шахтной двери
произойдет открытие левой.
При закрытии дверей кабины соответствующие отводки , воздействуя на
ролики 18 правой и левой створки шахтной двери, вызовут ее закрытие. В
процессе закрытия зуб защелки 12, скользя по наклонной поверхности
детали 19, войдет в зацепление с отверстием. Под действием силы тяжести
груза 16 рычаг повернется по часовой стрелке и зуб 12 займет предельное
верхнее положение (вид А). При полном закрытии створок, под действием
упоров 22 деталей 12 коромысло 23 перейдет в крайнее верхнее положение.
Контакт 21 правой и левой створок перейдет во включенное состояние и
пуск механизма подъема станет возможным.
Общий вид конструкции двухстворчатой шахтной двери с грузовым замыканием
створок представлен на рис.9.7.
Отличительной особенностью этой конструкции является наличие горизонтальной линейки 6. Общий вид этой конструкции представлен на рис.9.8.
Рассматриваемая конструкция шахтной двери находится в закрытом положении.

Рис.9.7 Двухстворчатая шахтная дверь с грузовым
механизмом автоматического закрывания: 1,4- левая и правая створка, 2 -
балка портала, 3 - замок с контактом контроля закрытия и роликом
привода; 5 - трос грузового механизма закрывания; 6 - направляющая
линейка кареток;
7 - трос синхронизации движения створок в противоположном направлении.

Рис.9.8 Общий вид шахтной двери с грузовым
механизмом закрывания створок: а - вид со
стороны кабины; b - вид с этажной площадки
Содержание
- 1. Гидравлические лифты (Архангельский Г.Г., Бабичев С.Д, Ваксман М.А.) -читать онлайн
- 2. ПРЕДИСЛОВИЕ (Гидравлические лифты)
- 3. История развития конструкции гидравлических лифтов
- 4. История развития конструкции гидравлических лифтов
- 5. История развития конструкции гидравлических лифтов
- 6. История развития конструкции гидравлических лифтов
- 7. История развития конструкции гидравлических лифтов
- 8. Современное состояние, тенденции и перспективы дальнейшегосовершенствования гидравлических лифтов
- 9. Классификация, кинематические схемы и техническая характеристикагидравлических лифтов
- 10. Классификация гидравлических лифтов
- 11. Техническая характеристика гидравлических лифтов
- 12. Общие требования к конструкции и параметрам гидравлических лифтов
- 13. Конструкция и принцип действия гидравлических лифтов и грузовых платформ
- 14. РАБОЧИЕ ЖИДКОСТИ ГИДРОПРИВОДА гидравлических лифтов
- 15. Минеральные масла гидравлических лифтов
- 16. Плотность и удельный вес минеральных масел гидравлических лифтов
- 17. Влияние воды на минеральные масла гидравлических лифтов
- 18. Влияние воздуха на минеральные масла гидравлических лифтов
- 19. Влияние температуры на минеральные масла гидравлических лифтов
- 20. Теплоемкость и теплопроводность рабочей жидкости гидравлических лифтов
- 21. Смазывающая способность и стабильность характеристик рабочей жидкостигидравлических лифтов
- 22. Влияние механических примесей на свойства рабочей жидкости гидравлическихлифтов
- 23. МЕХАНИЗМЫ ПОДЪЕМА С ГИДРОДВИГАТЕЛЯМИ ПОСТУПАТЕЛЬНОГО ПЕРЕМЕЩЕНИЯ
- 24. Канатные и рычажные мультипликаторы механизмов подъема гидравлическихлифтов
- 25. Тяговые органы канатных мультипликаторов гидравлических лифтов
- 26. Тяговые органы канатных мультипликаторов гидравлических лифтов
- 27. Основные характеристики канатного мультипликатора гидравлических лифтов
- 28. Гидроцилиндры механизма подъема гидравлических лифтов
- 29. Одноступенчатые гидроцилиндры гидравлических лифтов
- 30. Одноступенчатые гидроцилиндры гидравлических лифтов
- 31. Одноступенчатые гидроцилиндры гидравлических лифтов
- 32. Одноступенчатые штоки гидравлических лифтов, работающие на сжатие
- 33. Телескопические поршни гидравлических лифтов, работающие на сжатие
- 34. Телескопические поршни с механической синхронизацией нагидравлических лифтах
- 35. Телескопические поршни с гидравлической синхронизацией нагидравлических лифтах
- 36. Определение размеров телескопических поршней гидравлических лифтов
- 37. СИЛОВОЕ ОБОРУДОВАНИЕ ГИДРОПРИВОДА гидравлических лифтов
- 38. Бак для рабочей жидкости гидравлических лифтов
- 39. Бак для рабочей жидкости гидравлических лифтов
- 40. Электродвигатель привода насоса гидравлических лифтов
- 41. Электродвигатель привода насоса гидравлических лифтов
- 42. Насос гидроагрегата гидравлических лифтов
- 43. Насос гидроагрегата гидравлических лифтов
- 44. Шестеренчатые насосы гидравлических лифтов
- 45. Аксиально-поршневые насосы гидравлических лифтов
- 46. Винтовые насосы гидравлических лифтов
- 47. Винтовые насосы гидравлических лифтов
- 48. ВСПОМОГАТЕЛЬНОЕ ОБОРУДОВАНИЕ ГИДРОПРИВОДА гидравлических лифтов
- 49. Трубопровод гидропривода гидравлических лифтов
- 50. Уплотнения гидропривода гидравлических лифтов
- 51. Уплотнения гидропривода гидравлических лифтов
- 52. Фильтры гидропривода гидравлических лифтов
- 53. Фильтры гидропривода гидравлических лифтов
- 54. Антивибраторы и шумоподавители гидропривода гидравлических лифтов
- 55. Антивибраторы и шумоподавители гидропривода гидравлических лифтов
- 56. Теплообменники гидропривода гидравлических лифтов
- 57. Теплообменники гидропривода гидравлических лифтов
- 58. АППАРАТУРА УПРАВЛЕНИЯ ГИДРОПРИВОДА гидравлических лифтов
- 59. Клапаны гидропривода гидравлических лифтов
- 60. Дросселирующие клапаны гидропривода гидравлических лифтов
- 61. Дросселирующие клапаны гидропривода гидравлических лифтов
- 62. Клапаны ограничения давления гидропривода гидравлических лифтов
- 63. Клапаны регулирования потока рабочей жидкости гидропривода гидравлическихлифтов
- 64. Электроклапаны гидропривода гидравлических лифтов
- 65. Пропорциональные электроклапаны гидропривода гидравлических лифтов
- 66. Гидравлические схемы управления гидравлических лифтов
- 67. Простая гидравлическая система, не обеспечивающая точной остановки кабиныгидравлических лифтов
- 68. Гидравлическая система со скоростью выравнивания при спуске -гидравлические лифты
- 69. Лифтовая гидравлическая система с разными клапанами для подъема и спуска
- 70. Гидравлическая система, в которой одни и те же клапаны управляют ходомкабины лифта при подъеме и при спуске
- 71. Гидравлическая система, в которой одни и те же клапаны управляют ходомкабины лифта при подъеме и при спуске
- 72. Гидравлическая система, в которой одни и те же клапаны управляют ходомкабины лифта при подъеме и при спуске
- 73. Гидравлические схемы лифтов с электронной системой управления ипропорциональными клапанами
- 74. Гидролифты - Гидравлическая схема управления с частотным регулированием
- 75. ОСНОВЫ ТЯГОВОГО РАСЧЕТА ГИДРАВЛИЧЕСКОГО ЛИФТА
- 76. Расчет сопротивления движению башмаков кабины по направляющим угидравлических лифтов
- 77. Определение параметров гидроцилиндра гидравлических лифтов
- 78. Определение параметров силового оборудования гидравлических лифтов
- 79. КАБИНЫ ГИДРАВЛИЧЕСКИХ ЛИФТОВ
- 80. Конструкция кабины гидравлических лифтов
- 81. Конструкция кабины гидравлических лифтов
- 82. Устройства контроля загрузки кабины гидравлических лифтов
- 83. Каркас кабины лифта гидравлических лифтов
- 84. Каркас кабины лифта гидравлических лифтов
- 85. Прочностной расчет каркаса кабины гидравлических лифтов
- 86. Гидравлические лифты - расчет каркаса кабины лифта с гидроцилиндромпрямого действия
- 87. ДВЕРИ КАБИНЫ И ШАХТЫ гидравлических лифтов
- 88. Конструкция и работа механизма привода автоматических дверейгидравлических лифтов
- 89. Раздвижные двери кабины гидравлических лифтов
- 90. Раздвижные двери кабины гидравлических лифтов
- 91. Раздвижные двери кабины гидравлических лифтов
- 92. Раздвижные двери кабины гидравлических лифтов
- 93. Кинематика и расчет механизма привода автоматических раздвижных дверейгидравлических лифтов
- 94. Кинематика и расчет механизма привода автоматических раздвижных дверейгидравлических лифтов
- 95. Кинематика и расчет механизма привода автоматических раздвижных дверейгидравлических лифтов
- 96. НАПРАВЛЯЮЩИЕ гидравлических лифтов
- 97. Конструкция и установка направляющих в шахте гидравлических лифтов
- 98. Конструкция и установка направляющих в шахте гидравлических лифтов
- 99. Конструкция и установка направляющих в шахте гидравлических лифтов
- 100. Расчет направляющих гидравлических лифтов
- 101. Гидравлические лифты - Методика расчета направляющих на прочность ижесткость
- 102. ЗАЩИТНЫЕ УСТРОЙСТВА гидравлических лифтов
- 103. Механические защитные устройства гидравлических лифтов
- 104. Ловители гидравлических лифтов
- 105. Улавливающие устройства ловителей гидравлических лифтов, их основныехарактеристики
- 106. Конструкция и принцип действия ловителей гидравлических лифтов
- 107. Ловители плавного торможения гидравлических лифтов
- 108. Расчет ловителей гидравлических лифтов
- 109. Механизмы привода ловителей гидравлических лифтов
- 110. Проверка работоспособности механизма включения ловителей гидравлическихлифтов
- 111. Ограничители скорости гидравлических лифтов
- 112. Конструкция и расчет ограничителей скорости гидравлических лифтов
- 113. Гидравлические лифты - конструкция и расчет ограничителя скорости синерционным роликом
- 114. Упоры и буферы гидравлических лифтов
- 115. Конструкция и расчет пружинного буфера гидравлических лифтов
- 116. Конструкция и расчет гидравлического буфера гидравлических лифтов
- 117. Гидравлические устройства предотвращения падения кабины лифта
- 118. Гидромеханическое устройство стопорения поршня гидравлических лифтов
- 119. Устройства защиты от медленного спуска кабины гидравлических лифтов
- 120. Применение ловителей для предотвращения медленного спуска кабиныгидравлических лифтов
- 121. Стопорные устройства защиты от медленного спуска кабины гидравлическихлифтов
- 122. Аварийные устройства эвакуации пассажиров из кабины гидравлических лифтов
- 123. Клапан ручного действия для спуска кабины гидравлических лифтов
- 124. ЭЛЕКТРОАППАРАТУРА гидравлических лифтов
- 125. Электрическая цепь пуска гидравлических лифтов
- 126. Электрическая цепь управления гидравлических лифтов
- 127. Гидравлические лифты - цепь управления с выравниванием при закрытыхдверях во время спуска и с автовыравниванием при открытых дверях
- 128. Гидравлические лифты - схема управления с выравниванием при закрытыхдверях
- 129. ШАХТЫ И МАШИННЫЕ ПОМЕЩЕНИЯ гидравлических лифтов
- 130. Шахты гидравлических лифтов
- 131. Собственно шахта гидравлических лифтов
- 132. Приямок гидравлических лифтов
- 133. Верхняя часть шахты гидравлических лифтов
- 134. Машинные помещения гидравлических лифтов
- 135. ЛИТЕРАТУРА (Гидравлические лифты)
- 136. ОСНОВНЫЕ УСЛОВНЫЕ ОБОЗНАЧЕНИЯ ЭЛЕМЕНТОВ ОБЪЕМНОГО ГИДРОПРИВОДА ЛИФТОВОТЕЧЕСТВЕННОГО ПРОИЗВОДСТВА
- 137. ОГЛАВЛЕНИЕ - Гидравлические лифты (Архангельский Г.Г.)

от 6237.00 руб./шт.

от 6825.00 руб./шт.

от 32 571.00 руб./шт.

от 5775.00 руб./шт.

от 6861.00 руб./шт.

от 6237.00 руб./шт.

от 6699.00 руб./шт.

от 4851.00 руб./шт.

от 5311.00 руб./шт.





