Ловители плавного торможения
В ловителях, обеспечивающих плавное торможение (далее ЛПТ) кабин лифтов, усилие, с которым сжимаются направляющие поверхностями рабочих элементов таких ловителей, определяется пружинами, и после достижения некоторого заданного значения оно далее не изменяется вплоть до окончательной остановки кабины. Начиная от момента срабатывания этих ловителей, кабина успевает пройти еще некоторый путь, длина которого зависит от величины кинетической энергии, запасенной кабиной перед началом торможения, и от силы сжатия направляющих ловителями.
При сооружении лифтов наиболее часто используются такие ловители (ЛПТ), как:
А) клещевые;
Б) клиновые подпружиненные;
В) комбинированные.
Обычно на кабине (а нередко и противовесе) закрепляют два ЛПТ по одному с каждой ее стороны (или вверху, или внизу) таким образом, чтобы ловители находились как можно ближе к поверхностям направляющих. Когда приводится в действие один ловитель, то почти одновременно с ним срабатывает и другой, так как он жестко связан с первым ловителем канатами или системой рычагов.

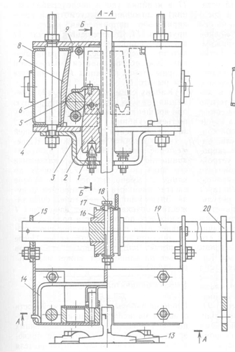
Рисунок 1. ЛПТ клинового типа.
На рис. 1 показано устройство ловителя (с пружиной) клинового типа. В его составе имеются следующие элементы (их позиции согласно приведенному рисунку указаны в скобках):
А) фиксатор (позиция 1);
Б) клин (позиция 2);
В) скоба (позиция 3);
Г) плиты (позиции 4 и 9);
Д) ролик (позиция 5);
Е) шпилька (поз. 6);
Ж) пружины (позиции 7 и 14);
З) корпус (позиция 8);
И) канатик (позиция 10);
К) рычаги (позиции 11 и 20);
Л) упор (позиция 12);
М) направляющая (позиция 13);
Н) пластина (позиция 15);
О) шкив (позиция 16);
П) планка (позиция 17);
Р) болт (позиция 18);
С) ось (позиция 19).
Корпус ловителя (позиция 8) имеет специальные шпильки (позиция 6), с помощью которых данные ЛПТ могут устанавливаться на концах нижних/верхних ригелей каркасов кабин/противовесов. В самом корпусе находятся два свободно перемещающихся клина (позиция 2), опирающихся на болты (позиция 1), имеющие конические головки и служащие фиксаторами положения клиньев при нормальной работе. Рядом с клиньями расположены пластинчатые пружины (позиция 7), опирающиеся на корпус. Между пружинами и клиньями расположены стальные ролики (позиция 5), непроизвольное перемещение которых вверх до момента срабатывания ловителей ограничивается пластинкой, закрепленной на клине вверху.
На вертикальных стенках корпуса ЛПТ при помощи пластин (позиция 15) установлена ось (позиция 19) со шкивом (позиция 16) в ее средней части. При этом шкив зафиксирован на оси проходящим через него насквозь болтом (позиция 18). Под гайкой болта и его головкой закреплены прижимные планки (позиция 17), удерживающие канатик (позиция 10) от проскальзывания вдоль поверхности шкива. Использование такого канатика позволяет обеспечить синхронное срабатывание двух ловителей, если приводным является только один. К оси приводного ловителя жестко прикреплен с помощью сварки рычаг, причем на конце этого рычага коушами удерживаются концы каната (устройства ограничения скорости), соединяющего ограничитель скорости с натяжным устройством приямка. Другой ловитель имеет на конце своей оси кулачок, воздействующий при повороте на устройство, снабженное электрическими контактами, размыкание которых приводит к обесточиванию лебедки лифта.
При срабатывании устройства ограничения скорости происходит остановка его шкива, но кабина в это время продолжает опускаться. Благодаря наличию сил трения между ручьем шкива и канатом, последний также останавливается и поворачивает рычаг, что вызывает подъем клина вверх относительно корпуса данного ЛПТ. В начальной стадии подъема клина происходит его отжимание к направляющей, а сразу после соприкосновения с ней силы трения делают невозможным дальнейшее движение клина.
При перемещении кабины и связанного с ней корпуса ловителя ролик сжимается между пружиной и клином и перекатывается, двигаясь выше по пружине и одновременно смещаясь, таким образом, по клину, что происходит увеличение нагрузки на клин. В это время корпус ловителя движется вниз относительно клина до тех пор, пока не остановится после соприкосновения с верхней плитой. Сила, с которой пружины давят на направляющую и сам клин, перестает увеличиваться, и клин медленно начинает двигаться вниз вместе с кабиной лифта, преодолевая существующее трение между направляющей кабины и клином ловителя, до тех пока кабина не остановится окончательно.
Для того чтобы в крайних положениях рычаг четко фиксировался (после срабатывания и до него) установлена специальной формы коленчатая пружина, которая отжимает рычаг в верхнее положение в момент срабатывания ловителя и в нижнее положение — до начала срабатывания ловителя. Это обеспечивается благодаря конструкции пружины и ее особому расположению на опорных точках, имеющихся на рычаге и на корпусе ЛПТ.
Кабину для того, чтобы снять с ловителей, перемещают вверх вручную, одновременно вращая шкив (удерживающей кабину лебедки) в направлении подъема кабины. Клин при этом благодаря трению о направляющую какое-то незначительное время остается неподвижным. Последующее движение кабины вместе с корпусом ЛПТ вверх вызывает перемещение ролика по пружине вниз, а по клину — вверх. В результате уменьшается до нуля сила сжатия направляющей, обеспечиваемая клиньями. Далее происходит опускание клина под собственной тяжестью на нижерасположенный фиксатор, и клин занимает свое исходное положение. При этом ролик, который ложится на распорную трубку внизу, также принимает свое первоначальное состояние. Лифт может далее эксплуатироваться только после того, как будут убраны следы зубьев на направляющих, оставленные клином.
2016.05.30
Самые уникальные лифты мира
2016.04.05
Как придумали лифт?
2016.04.11
Надежность и безопасность современных лифтов
2016.04.23
Отчего наше поведение в лифте такое неестественное?
2016.04.23
Для чего нужен башмак лифта
2016.04.23
Пассажирские лифты: их назначение и устройство
2016.04.24
Частотные преобразователи для лифтов: устройство и рекомендации по продлению срока службы
2016.04.25
Назначение грузового лифта и его устройство
2016.04.25
Особенности конструкции лифтов, имеющих электрический привод
2016.04.25
Ограничители скорости
2016.04.26
Особенности конструкции гидравлических лифтов
2016.04.28
Деловой этикет: поведение в лифте и у лифта
2016.04.28
Когда мы сможем прокатиться на космическом лифте?
2016.04.29
Устройство лифта
2016.04.30
Шахта лифта
2016.05.05
Терминология лифтового хозяйства
2016.05.07
Для чего нужны испытательные лаборатории лифтов?
2016.05.13
Особенности выбора лифтовых электроприводов
2016.05.15
Необычные лифты
2016.05.16
Техника монтажа лифтов
2016.05.22